1 前言
據資料記載,我國最早的衡器出現在夏朝(公元前 2033年-公元前1562年),夏朝是中國第一個王朝,開始有了貨幣,建立了賦稅制度,也出現了金屬器具?,F在分析貨幣是用于商品交易,賦稅制度需要繳納一定數量的農作物,應該已經使用了衡器?!妒酚洝は谋居洝酚校河怼吧頌槎龋Q以出”,這說明了大禹治水時不但經過丈量,而且在丈量的過程中還有一個統一的長度和重量標準。

圖1 戰國時期的衡器-銅環權(1、木衡桿;2、銅盤;3、環權)
目前發現時代最早的完整衡器實物,應該是1959年在長沙左家公山出土的一套戰國時期的衡器-銅環權(圖1)。這套衡器為公元前四世紀到三世紀的制品,他包括一件木衡桿和九枚環狀銅權。木衡桿上沒有刻度,正中央有提紐,兩邊各掛一個銅盤,使用方法類似今天的等臂天平,通過增減環權來稱出被稱物品的重量。秤桿由木衡桿和兩個銅盤組成,木桿呈扁條狀,長27cm,中間一孔,穿絲線為提紐。銅盤直徑40mm,邊緣有4個對稱小孔,穿絲線后分別系于秤桿兩端,成提紐天平。環權共9枚,自小至大重量為0.6g、1.2g、2.1g、4.6g、8g、15.6g、31.3g、61.82g、125g,這是非常難得的一組古代成套衡器。
雖然我們擁有悠久的衡器歷史,但作為現代衡器來說,由于工業發展滯后,起步也實在是太晚了。據資料介紹,我國于1918年出現了修理外國臺秤的作坊,1922年上海“岑南德記臺秤修理廠”開始仿造臺秤,1924年“天津市明權度量衡廠”成立,從事修理臺秤業務。
解放后,由輕工業部歸口管理衡器行業,據1952年統計,當時衡器行業只有15家國營企業,員工總計僅有2100多名,200人以上的企業有長春、沈陽、南京等度量衡廠,這就是新中國衡器行業起步時僅有的基礎。
隨著我國國民經濟的恢復和發展,從五十年代末到六十年代中期新建了一批有一定規模的衡器廠,衡器行業才有了一個基礎。從六十年代開始,我國自行設計制造大型、專用衡器,衡器行業的生產也上了一個臺階。
解放前及解放后的前幾年,我國的衡器業在皮帶秤這一塊完全是空白,五十年代中期開始,我國才有了國產第一臺機械式皮帶秤。
本文主要回顧國產電子皮帶秤的發展歷史,但電子皮帶秤是在機械式皮帶秤和機電結合式皮帶秤的基礎上發展起來的,因此將首先介紹國產機械式皮帶秤和機電結合式皮帶秤的發展。為了使本文內容盡量真實反映歷史,作者向很多經歷過這段歷史的老同志了解,他們熱情地介紹了很多當時的研制過程和細節,有的老同志還寄來多達十幾頁的書面材料,這些老同志的認真和負責態度使作者深受感動,為此向他們表達真誠的謝意!
2、國產機械式皮帶秤
1954年,遼寧沈陽衡器廠試制了國產第一臺梅里克型GL機械滾輪式皮帶秤;隨后,遼寧大連衡器廠、江蘇徐州衡器廠、山西長治衡器廠也陸續生產PGL滾輪式皮帶秤。由于這兩種型號的機械滾輪式皮帶秤對設計選用提出了較多的限制條件,比如皮帶輸送機的總長度最短不小于13m,最長不大于100m(GL型110m);皮帶速度范圍0.1-1.6m/s(GL型0.3-2.0 m/s);不能用于皮帶輸送機斷面有凹弧段、有移動式卸料小車的場合;皮帶上每米物料量的負荷要求大于一定值(如皮帶寬度650mm 以下每米物料量的負荷應大于8kg);物料瞬時流量大部分時間(85%以上)在50%-100%范圍內才能保證1%的稱量精確度。再加上因機械磨損造成的維護量大、信號不能遠傳、實際使用精確度低等原因,應用范圍非常有限。但是,我們也不應低估國產機械滾輪式皮帶秤的歷史地位,因為正是機械滾輪式皮帶秤的生產和使用,使我國有了第一批了解皮帶秤工作原理、應用范圍、安裝調試要求、現場檢定的技術人員,同時,這也為電子皮帶秤日后的推廣應用奠定了基礎。圖2為國產機械滾輪式皮帶秤結構圖。

圖2 國產機械滾輪式皮帶秤結構圖
到1979年,由當時的旅大市標準計量管理局起草,經國家計量總局批準,發布了《滾輪式皮帶秤試行檢定規程》,并于1980年5月1日起試行,這是我國第一份有關皮帶秤的規程。
3、一個過渡產品-機電結合式皮帶秤
由于生產過程不僅需要物料進行計量,在一些環節還需要對瞬時流量進行自動控制,以維持流量的恒定;這就需要物料的瞬時流量是標準信號,例如電信號或氣動信號。而純機械式皮帶秤無法提供這類信號。這時國內出現了一種磅秤整機稱重式電子皮帶秤,他將一條輸送物料的短皮帶輸送機的整體放在磅秤上,當短皮帶輸送機上沒有物料時,進行磅秤的調零,使磅秤的標尺處于水平位置;當短皮帶輸送機上有物料時,磅秤的標尺離開水平位置向上移動,測量標尺的位移或受力,就可以得到物料的瞬時流量信號。
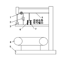
在南京鋼鐵廠等單位1966年11月內部印刷的資料“黃鐵礦燒渣綜合利用中溫氯化法半工業性試驗報告”中,介紹了沸騰爐料量計量及自動調節系統的試驗及應用情況。如圖3所示,短皮帶輸送機是放在磅秤臺面上,磅秤的標尺左端壓上重碼,使標尺處于較低的位置;在標尺的右端裝有差動變壓器,其線圈繞組是固定在一個底座上,而鐵芯則隨標尺的位移而上下移動。當短皮帶輸送機上無料時,將標尺的位置調整到使鐵芯位于線圈繞組的中間,差動電勢信號輸出為零;當短皮帶輸送機上有料時,標尺的位置將上移,鐵芯偏離線圈繞組的中間位置,產生差動電勢信號輸出;短皮帶輸送機上物料越多,差動電勢信號輸出越大。為了改善差動電勢信號輸出的線性度及調整量程,在標尺上增加了彈簧,使用初期最大量程為2t/h,后加粗彈簧,量程增大到3t/h,如果需要還可再加大到5t/h。差動電勢信號輸出送至ECY型電子差動儀顯示,然后通過調節使其控制直流電機的轉速,從而實現料量的自動調節。

圖3 磅秤整機稱重式電子皮帶秤
1、重碼;2、彈簧;3、阻尼罐;4、短皮帶輸送機;5、磅秤臺面;6、鐵芯;7、線圈繞組;8、標尺
上世紀六十年代末,南昌有色冶金設計研究院在廣東石箓銅礦離析窯窯尾混合料自動控制系統中設計了計量系統,短皮帶輸送機是放在磅秤臺面上,磅秤的標尺可上下移動的一端與氣動單元組合儀表的QBC-200差壓變送器的推桿相連,這樣短皮帶輸送機上物料的多少可以轉換成差壓變送器的推桿受力的大小,從而輸出一個標準的氣動信號,經過氣動PID調節器運算和氣/電轉換,通過可控硅電壓調整器控制作為給料機的電振機的給料量,達到自動調節的目的。其資料介紹,磅秤最大秤量為500kg,而物料量的最大載荷只有25kg,相當于最大秤量的1/20。
江蘇蘇州望亭電廠上世紀五十年代建廠時使用了機械式皮帶秤(據介紹稱量托輥共有8組),在使用近20年后改裝成機電結合式皮帶秤,用DDZ-II型變送器測力,在電子式二次儀表中顯示測量數據,統計12 次實物試驗的數據,平均誤差為0.84%。
4、國產電子皮帶秤
4.1 稱重傳感器
1936年-1938年,美國加利福尼亞理工學院教授E.Simmons(西蒙斯)和麻省理工學院教授A.Ruge(魯奇)分別同時研制出粘貼型紙基絲繞式電阻應變計,由美國BLH公司專利生產。BLH公司和Revere公司利用上述電阻應變計研制出的應變式稱重傳感器,用于工程測力和稱重計量,成為應變式稱重傳感器的創始者。第一臺應變式載荷傳感器的問世是1940年,50年代國外才有了較多的工業應用。據了解,中國航天科技集團702所等單位從1957年開始研制,1958年開始生產應變式稱重傳感器,最早的應變式稱重傳感器非常簡單,甚至連溫度補償也沒有,但畢竟我國科技人員已經走出了關鍵的第一步,也為國產電子皮帶秤的研制準備了必要的條件。
4.2 六十年代-國產電子皮帶秤的研制階段
1964年,國家科委在北京組織召開起重運輸機械十年發展規劃,會議討論了在物料輸送由包裝運輸向散裝運輸發展的趨勢下,需解決皮帶輸送機如何在輸送物料時實現計量這一課題。因此要求研發電子皮帶秤,并將這一任務交由北京起重運輸機械研究所承擔;當年一機部重礦局正式將該項目作為局管重點課題,下達北京起重運輸機械研究所,并成立了由孫邦杰、鄭時聲、周天恩、鄭齊信等組成的課題組。在當時國內尚無電子皮帶秤樣機和相關資料的條件下,課題組依靠以往測試工作的經驗積累,參考機械皮帶秤的工作原理,初步選定的技術方案如下(見圖4):
①力傳遞系統:軸承作杠桿支點的單托輥式秤架,可調整砝碼平衡皮重;
②測力元件:箔式應變片測力傳感器;
③測速元件:永磁式直流測速發電機;
④信號放大:晶體管差分放大電路;
⑤積算電路:電壓/頻率轉換后由步進脈沖計數器累計積算。

圖4 國產第一臺電子皮帶秤的技術方案
1965年,課題組在首鋼燒結廠配料車間進行了現場試驗,試驗時采用的物料試驗方法是“托盤法”(即用恒定長度的托盤從皮帶輸送機上取出皮帶上恒定長度的物料進行稱重,由此推算出物料的瞬時流量與顯示的瞬時流量進行比對)。
六十年代,新產品的研制要“走出去,廠所結合”,按國家儀表總局的行業規劃,安排營口儀器三廠為電子皮帶秤的歸口生產廠。1966年初,北京起重運輸機械研究所派5位工程技術人員到營口儀器三廠搞三結合研制;因文化大革命開始,北京起重運輸機械研究所仍留下2人在極其困難的條件下堅持工作,1967年初完成樣機試制任務,樣機隨即在吉林長春第一汽車廠自備電廠輸煤系統安裝、調試、試運行。所稱量物料為破碎后的燃料煤,最大輸送量100t/h;皮帶寬度650mm;皮帶速度1.6m/s;皮帶輸送機傾角15°-16°;皮帶長度80m左右。
試運行過程中,采用0.1%精確度的機械軌道衡稱量燃煤,然后卸在經清掃過的煤倉內,再經過電子皮帶秤計量,從而考核其精確度和穩定性。通過約一個月的試運行,證明這臺樣機基本成功,稱量精確度在1%左右。1967年二季度,在長春舉行電子皮帶秤樣機試運行鑒定會,鑒定會由國家儀表總局主持,國家儀表總局、中國計量科學研究院、遼寧省儀表公司組成鑒定領導小組,參加會議的有冶金部、煤炭部、化工部、糧食部、電力部、交通部等領導和相關使用部門及科研、設計單位。會議認為,國內第一臺電子皮帶秤樣機的產生開創了國內動態電子稱重的第一步,實驗證明產品性能基本達到要求。
隨后產品由營口儀器三廠生產,早期的型號為DZCB-2(后改為 DZCB-2A)。1969年,北京起重運輸機械研究所與上海華東電子儀器廠合作研發配料用電子皮帶秤系統,用戶為廣東韶關凡口鉛鋅礦選礦廠,系統由電子皮帶秤、DDZ-II型單元組合儀表、直流調速電機等組成,通過調整皮帶速度維持物料量的恒定。該設備1970年用于南京梅山9424工程焦化、燒結生產過程的物料配料,1971年用于上海冶煉廠援助阿爾巴尼亞工程的物料配料。稍后,華東電子儀器廠開始生產計量用電子皮帶秤,早期的型號為DCB-I。
稍晚一點,上海工業自動化儀表研究所柯毓林、肖衍雄研制的電子皮帶秤交由上海衡器廠生產,早期的型號為 DBC-I。六十年代末期,國內只有營口儀器三廠、上海華東電子儀器廠、上海衡器廠這三家生產電子皮帶秤。
這一時期的秤架結構單一,均為帶平衡重的單托輥秤架,制作較為粗糙,配用的稱重傳感器為簡單的圓柱形,精確度僅能達到0.5%,可靠性、穩定性均較差,累計器為以鍺晶體管和電磁機械計數器為主要元件的儀表,溫漂、零漂嚴重,晶體管等元件極易損壞,電磁機械計數器容易卡字,使用壽命短,因此應用不盡人意。但我們畢竟邁出了第一步,有了自己的電子皮帶秤產品,也誕生了第一批從事電子皮帶秤科研、生產及應用的人才隊伍。
4.3 七十年代-國產電子皮帶秤的起步階段
六十年代國產第一臺電子皮帶秤研制成功之后,七十年代電子皮帶秤開始真正應用到工業生產,并先后開始新型秤架結構的研制和國內第一臺電子皮帶秤的統一設計。
1971年,鞍山礦山設計院(現鞍山黑色礦山設計研究院)孫慶和先生、首鋼燒結廠楊志錄先生等組成的三結合試驗小組,在首鋼燒結廠進行了配料過程電子皮帶秤計量及自動調節的試驗工作,他們先后研制出采用十字簧片支點的帶平衡重的單托輥單杠桿秤架、懸臂式秤架、整機式秤架,包括調節器在內的二次儀表采用國產電動單元組合儀表 DDZ-II型儀表的mV放大器、單針指示儀、比例積算器、調節器。1971年11月實現了自動稱量,1972年4月配料自動調節系統投入運行,懸臂式秤架于1972年6月實現了自動稱量,7月配料自動調節系統投入運行,整機式秤架1980年投入運行。圖5為首鋼燒結廠單托輥單杠桿秤架在現場的運行照片。

圖5 首鋼燒結廠單托輥單杠桿秤架在現場的運行照片
1972年,遼寧水泥自動化所孫秉禮先生(后調到合肥水泥研究設計院)針對水泥生產過程中磨機配料自動化,設計了由懸臂式秤架組成的恒速定量給料秤,首先應用于解放軍6006水泥廠磨頭給料計量,包括調節器在內的二次儀表采用國產電動單元組合儀表DDZ-II型儀表的mV放大器、單針指示儀、比例積算器、調節器。初期沒有買到電阻應變式稱重傳感器,采用了DDZ-II型儀表的壓力變送器,使用效果不行。后來買到電阻應變式稱重傳感器,實驗效果才比較滿意。1976年,孫秉禮先生改進后的懸臂式秤架在天津市水泥廠投運,這一次的改進包括采用扁鋼組成穩固的剛性框架結構,改進了簧片支點結構,采用擺線減速電機代替齒輪減速電機,改動了環形皮帶的拆裝方式及深入研究了電振給料機的控制特性,從而使秤體總重從340kg減少到260kg,系統運行平穩,計量及控制精確度提高。后來該項成果先后轉讓給湘鄉無線電廠、無錫計算機廠(后為無錫建材電子設備廠)生產。
1978年起,孫秉禮先生又開始研制調速定量給料秤,即定量給料秤本身的速度不再是恒定的,而是根據物料量的多少而調速的。
1974年,一機部組織了儀表行業質量檢查,發現了電子皮帶秤生產及使用中的一些主要問題。1975年4月起,由上海工業自動化儀表研究所牽頭,成都科學儀器廠、營口儀器三廠、華東電子儀器廠參加組成了一機部電子皮帶秤聯合設計組,進行統一調研和設計,產品型號為GGP-10,要求該產品“五統一”,即規格型號、技術標準、測試方法、安裝尺寸、易損部件五個方面統一,主要負責研制工作的是上海工業自動化儀表研究所肖衍雄、顧瑞良。秤架為帶平衡重的單托輥單杠桿秤架,配用0.3%精確度的GZB型稱重傳感器,1976年由成都科學儀器廠試制了三臺樣機,1977年3月開始在廣州氮肥廠安裝調試及試運行,取得了靜態誤差0.4%,動態掛碼試驗0.6%,多根鏈條模擬試驗0.6%,物料試驗0.6%的實驗結果。營口儀器三廠也試制了三臺樣機,在上海通過了全性能考核。1978年5月,由一機部主持在成都召開了“GGP-10電子皮帶秤產品全國鑒定會”,會后一機部要求GGP-10電子皮帶秤投入批量生產。
1979年,長沙黑色礦山設計研究院劉玉松、李登濤先生為首的技術人員與湘潭鋼鐵廠計量所合作,研制一臺雙杠桿多托輥電子皮帶秤(秤架結構見圖6)用于湘鋼焦化廠與煉鐵廠之間的焦炭交接計量,從而開啟了國產高精確度計量皮帶秤秤架的研究工作。因為在此之前,國內僅有帶平衡重的單托輥單杠桿秤架、懸臂式秤架這樣兩種秤架結構,均難以用于高精確度計量皮帶秤,雙杠桿多托輥電子皮帶秤的研制標志著高精確度秤架在中國開始起步。

圖6 國內研制的第一臺雙杠桿多托輥電子皮帶秤秤架
在單托輥電子皮帶秤使用精確度達不到要求及現場皮帶輸送機運行狀況較差的情況下,1979年起,東北電管局技改局、徐州衡器廠、沈陽電廠、遼寧電廠、清河電廠等單位聯合研制JSPC-1型懸臂式計量用電子皮帶秤,試圖采用單獨設置的計量皮帶機來提高電子皮帶秤的使用精確度,該秤曾在電廠應用過一段時間。
4.4 八十年代-國產電子皮帶秤的初步發展階段
七十年代國產電子皮帶秤進入起步階段之后,八十年代國產電子皮帶秤進入初步發展階段,如一批新型電子皮帶秤研制成功、幾套皮帶秤系統試驗裝置建成、國外電子皮帶秤生產技術的全面引進和第一批電子皮帶秤標準的制定。
4.4.1 一批新型電子皮帶秤研制成功和皮帶秤系統試驗裝置建成
1981年11月,冶金部科技辦在湘潭鋼鐵廠召開了“帶寬一米水平安裝多托輥電子皮帶秤”科研成果鑒定會,該秤采用雙杠桿6托輥秤架(見圖6),二次儀表采用國產電動單元組合儀表DDZ-II型儀表的mV放大器、比例積算器、電子電位差計等組成,鑒定精確度為滿值1%。
但在研制過程中發現,由于受生產現場條件的限制,很多試驗項目無法進行;所以長沙黑色礦山設計研究院又與衡陽運輸機械總廠合作,于1981年11月在衡陽運輸機械總廠建成了我國第一套皮帶秤系統試驗裝置(見圖7),并開始試驗工作;該裝置由5條送料皮帶機2條試驗皮帶機、貯料倉、稱重料倉等組成。試驗皮帶機1為皮帶寬度1000mm的水平皮帶輸送機;試驗皮帶機2為皮帶寬度800mm、傾角可在0°~18°范圍內變化的皮帶輸送機,皮帶速度也分檔可調,有0.51、1.1、1.91、3.3m/s四種速度。通過分料漏斗的切換,可確定是在試驗皮帶機1還是在試驗皮帶機2上進行試驗。

圖 7 我國第一套皮帶秤系統試驗裝置
1982年6月,由湖南省機械局主持,對長沙黑色礦山設計研究院、衡陽運輸機械總廠研制的DDPC-4S水平安裝多托輥雙杠桿式電子皮帶秤進行了科研成果鑒定,該秤采用雙杠桿6托輥秤架,稱重傳感器采用余姚儀表二廠生產的0.05%高精度柱環式傳感器,二次儀表采用成都科學儀器廠生產的GGP-10電子皮帶秤的累計器,所鑒定的電子皮帶秤的最大輸送量為420t/h,皮帶寬度為1000mm,皮帶速度為1.68m/s,皮帶輸送機傾角為0。鑒定結論是該秤在20%~100%量程范圍內達到當量精確度 1%的指標。這次鑒定皮帶秤系統試驗裝置發揮了巨大作用,鑒定之前就進行了1500次以上每次物料重量多達10t的物料試驗,而在鑒定進行的三天時間內又進行了近百次每次物料重量多達10t的物料試驗,如果沒有皮帶秤系統試驗裝置,這么多的物料試驗是根本不可能完成的。
1984年1月,由湖南省機械局主持,再次對長沙黑色礦山設計研究院、衡陽運輸機械總廠研制的DDPC-4S多托輥雙杠桿式電子皮帶秤進行了科研成果鑒定,這次的主要改進是采用了湖南計算機廠曹連芃主持研制的WPC-1型微機化二次儀表,儀表CPU采用了Z-80,在功能上增加了自動測量動態皮重、自動去皮、一次性標定、自動計算量程系數等功能,秤架是可傾斜安裝的雙杠桿4托輥秤架,測速采用光電型傳感器,鑒定結論是該秤在20%-100%量程范圍內達到當量精確度0.5%的指標。
1981年初,上海工業自動化儀表研究所肖衍雄等人開始了GGP-50 電子皮帶秤的研制工作,第一臺樣機首先安裝在上鋼五廠,隨后又在上海熱電廠、上港七區進行運行考驗,秤架是傾斜安裝的雙杠桿4托輥秤架,1982年11月該秤通過了鑒定,鑒定結論是該秤在20%-100%量程范圍內達到當量精確度0.5%的指標,鑒定后GGP-50電子皮帶秤又交給成都科學儀器廠生產。其中在上港七區使用的兩臺GGP-50 電子皮帶秤經上海市標準計量局鑒定,并經船方、港方、貨方公認,從1983年3月起,準予以0.5%的精確度作為商業性計量收費秤使用。
南京電腦計量設備公司也從1982年起研制采用雙杠桿多托輥秤架的BSM電腦皮帶秤,1984年通過了由南京市科委組織的技術鑒定,1986年通過了由冶金工業部組織的技術鑒定,1987年5月國家科委成果局召開了BSM電腦皮帶秤成果推廣會。在此期間,還第一個獲得了國家計量局型式批準的皮帶秤定型鑒定證書。
1985年年底,成都科學儀器廠的皮帶秤動態系統試驗裝置建成,該實驗裝置由三條不同傾角的試驗皮帶機、貯存料倉、稱重料倉、計算機數據處理系統及大型顯示器組成,由于試驗皮帶機的張力可調、皮帶速度可調,因此可對皮帶秤進行不同物料、不同粒度、不同皮帶張力、不同皮帶速度、不同皮帶機傾角等條件下的實物試驗。
在中國計量科學研究院羅才生先生等人的努力下,1985年開始,安徽銅陵無線電廠建設一套高標準的的皮帶秤試驗裝置,掛牌為安徽省電子皮帶秤測試中心;1995年起曾由國家級機構授權可出示鑒定中心證書,1997年起,因為銅陵無線電廠產權變動,電子皮帶秤測試中心停止工作,后被拆除。
4.4.2 國外電子皮帶秤生產技術的全面引進
八十年代的另一個重要進展是國外電子皮帶秤生產技術的全面引進,營口儀器三廠1983年從日本大和(YAMATO)公司引進電子皮帶秤制造技術,隨后上海華東電子儀器廠從美國梅里克公司、徐州衡器廠從美國拉姆齊(RAMSEY)公司,承德自動化計量儀器廠、成都科學儀器廠、常熟衡器廠聯合從德國申克(SCHENCK)公司先后引進電子皮帶秤制造技術,促進了國內電子皮帶秤制造廠的技術改造。
4.4.3 第一批電子皮帶秤標準的制定
1984年編制完成機械工業部專業標準ZBY281-84“電子皮帶秤”,1987年編制完成國家標準GB7721-87“電子皮帶秤”,1989 年編制完成國家計量檢定規程 JJG650-90“電子皮帶秤”。
5、結束語
從上世紀九十年代到今天,國產電子皮帶秤的進入了一個全面發展階段:電子皮帶秤應用的數量、應用形式的多樣列入世界前茅;秤架結構更加多樣化,懸浮式秤架、直接承重式秤架、多托輥雙杠桿式秤架的普遍應用;微機化二次儀表的開發和功能優化;以循環鏈碼和實物砝碼疊加校驗法為代表的國內自行開發的模擬校驗方法取得較大的進展;皮帶秤應用技術得到普遍重視;1995年編制完成了國家標準GB/T7721-1995“電子皮帶秤”,2002年編制完成了新的國家計量檢定規程JJG195-2002“連續累計自動衡器(皮帶秤)”,新的國家標準GB/T7721-2017已于2017年12月19日發布,2018年7月1日實施。
回顧40多年來國產電子皮帶秤的發展歷史,一方面感慨當年第一臺國產電子皮帶秤研制的艱難,另一方面又感慨這40多年發展的迅速。但我們還應該看到我國電子皮帶秤的發展水平與先進國家的產品還是有一定差距。只要大家努力,在不久的將來,國產電子皮帶秤的水平一定會達到世界頂峰的。
作者:方原柏





