高性能蝶閥具有流量大、流阻小密封好等特點,應用于石油、天然氣、化工、電站、造紙與紙漿等工業中,并且被核工業,宇航工業等高新技術領域所接授,用來輸送危險性或超低溫介質。蝶閥采用雙偏心設計,密封時可以進行自調整,開啟時消除了密封面的磨損,提高了使用壽命。
高性能對夾式蝶閥
對夾式蝶閥采用帶有球形密封表面的雙偏心蝶板,配以單片撓性唇式密封座,適用于要求可靠密封和良好調節特性的場合。由于雙偏心蝶板的設計,該閥門具有嚴密的密封性能,超長的使用壽命??勺骺焖偾袛嗷蛘{節流量之用。

對夾式蝶閥適用于各種工業管道中液體和氣體(包括蒸汽)的輸送。經特選,也可用于特殊介質,如氯氣、氧氣、高真空、高壽命、抗硫腐腐蝕性介質。產品還可具有防火功能選型,低溫選型等。連接方式可采用對夾式或用于大管徑及管路終端的凸耳式單法蘭設計。
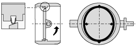
①唇式密封
關閉時PTFE唇式密封的密封做(A)繞曲,有成球形扇面的蝶板(B)外邊緣密合,保證了可靠密封。閥體(C)與鑲插件(D)使密封座緊固在位,并將它們的密封面與介質隔離,防止了腐蝕。

②雙偏心設計
偏心蝶板與偏置軸保證閥門開啟時,蝶板密封面迅速離開閥座密封面,是蝶板有閥座密封面只有短暫的接觸時間,延長了閥門的使用壽命,同時也保持了蝶板整個周邊的密封性。
金屬密封蝶閥
蝶閥采用金屬密封,它的連揍形式分別為對夾式和法蘭式。這種閥門適用于溫度較高的,并可在粘稠或帶顆粒介質工況下達到持久可靠的密封。使用壽命長,關斷性能好,控制范圍廣。偏置式軸和偏心的橢圓形蝶板組成三偏心結構。精湛的工藝技術實現了蝶板對密封圈、密封圈對閥體的金屬對金屬的可靠密封。
L90系列金屬密封蝶閥使用截面成U形的金屬密封圈,在關閉狀態下,隨橢圓形蝶板變形,與蝶板密封面四周緊密接合。由于它在閥體的槽內能作徑向浮動,因而能補償熱力循環的波動,用于區域供熱主、支管線及蒸汽管線上作開閉和節流用。

浮動式閥座密封圈
閥門使用浮動式閥座密封圈,該密封圈可在較深的閥體槽內作徑向擴伸或定位,因而在各種工作條件下均可進行自調整以保持最佳密封位置。蝶板成橢圓形,并以雙偏心安裝,當蝶板與圓形閥座密封圈接觸時,將密封圈向外擠壓造成其短軸處與密封圈接觸。當閥門開啟時,接觸立即解除,密封圈恢復原來形狀,這樣就防止了磨損,閥門可經受幾十萬次運行。

金屬硬密封高壓蝶閥
金屬硬密封高壓蝶閥采用偏心球面蝶板與介質激勵下的撓性金屬閥座相配合的設計,具有最低的操作扭矩、最大的流量系數及可靠地雙向密封。金屬硬密封高性能蝶閥適用于石油精煉,電力,石油化工,天然氣,LNG,空分等工業領域,可作為開關隔離閥和調節閥之用。

昌暉儀表制造有限公司是這種高性能蝶閥的代理商,高性能蝶閥的選型及價格咨詢直接與網站客服或市場部聯系。
