熱電偶是工業上最常用的溫度檢測元件之一。熱電偶測溫的基本原理:將兩種不同材料的導體或半導體A和B焊接起來,構成一個閉合回路。當導體A和B的兩個執著點之間存在溫差時,兩者之間便產生電動勢,因而在回路中形成一個電流,這種現象稱為熱電效應。熱電偶就是利用這一效應工作的。
玻璃熔窯爐頂(Melter Crown)測得熔制溫度高達1540-1570℃左右,此溫度它關系到玻璃液的質量與出料量。因此窯爐的溫度自動控制均以爐頂溫度為準。它采用的熱電偶分度號為B型?,F就此點的溫度測量與控制趙民生工程師談談使用昌暉熱電偶的體會。
熱電偶在玻璃工業中得到廣泛應用,如用在玻璃熔窯熔化池的窯頂、熔化池的底部、流液洞的側部、前臉墻、工作池的頂部、料道頂部、蓄熱室的頂部/上部/中部/底部及煙囪等。玻璃熔窯熱電偶典型安裝位置見圖1。爐頂溫度測點一般在噴槍處向前2/3處或者是在更前處,此點是玻璃熔窯的熱點,同時馬蹄型窯爐其交換左右火焰均在此位置轉向,對交換后火焰的影響也較小。此點的溫度反應較快、靈敏度高基本能代表玻璃熔窯內的溫度情況。

圖1 玻璃熔窯熱電偶的位置分布

表1 典型玻璃熔窯使用熱電偶的部位及數量
1、玻璃熔窯爐頂熱電偶的安裝注意事項及應用
由于玻璃熔窯內的溫度高,粉塵多以及化學腐蝕性強,因此正確地安裝熔化池爐頂上的熱電偶,準確地測溫以及延長熱電偶的壽命是十分重要的。有經驗證明熱電偶過早損壞等,其很大原因是由于不適宜的安裝所致。有時甚至會影響到爐頂的壽命。以下幾點體會供玻璃工業同行參考:
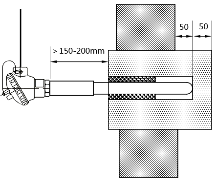
①插入玻璃熔窯頂部的熱電偶,插入窯內深度不能超過窯頂內表面的50.8mm,如熱電偶插入過深,就會被火焰沖刷與料粉腐蝕,其熱電偶的壽命會大大縮短。見圖2

圖2 玻璃窯爐爐頂熱電偶伸出窯爐內小于50.8毫米
同時插入熱電偶的孔與熱電偶剛玉管之間的空隙,必須要用玻璃棉、玻璃纖維等填充物將此空隙堵嚴,以防產生“煙囪效應”(Chimney Effect),使火焰從空隙處沖出燒毀熱電偶與補償導線等。
②玻璃熔窯爐頂熱電偶必須要有足夠的長度,熱電偶接線盒距窯頂表面長度要大于150-250毫米(見圖2)。如接線盒處的溫度過高,其測量的溫度將會產生較大的誤差,甚至燒毀接線盒。
③玻璃窯爐爐頂測溫的熱電偶磚如采用的是盲孔,為了提高該溫度靈敏度,可將該測溫磚多插入窯頂一些,使熱電偶的測點基本與窯頂內壁平口或者再多插一點(如圖3)。

圖3 插入盲孔測溫磚的玻璃窯爐爐頂熱電偶安插要點
盲孔測溫磚,其盲孔測溫的修正值有以下的經驗:測出的溫度一般比正常測玻璃液溫度約低50℃,如盲孔測出溫度為1510℃,推算出其窯內的火焰溫度為1560℃。此點為筆者的體會,望各位在工作中驗證。同時其盲孔的熱電偶瓷管的空隙,也要用玻璃棉與纖維等填充物將此空隙堵嚴。以防磚有小裂紋而產生的“煙囪效應”,最終會使火焰竄出。
另外在現場處理盲孔磚有經驗證明,在建爐過程中由于各項工作交叉進行,難免有一些疏忽。在盲孔測溫孔里現場我們常發現有螺絲、螺帽、小磚塊等掉落盲孔內。窯爐點火升溫后處理起來十分麻煩。提醒同行注意。在建爐時可用紙張與木塊等物將其先塞住。點火升溫需插熱電偶時,取下堵孔的紙等即可安裝熱電偶。
玻璃熔窯爐頂測溫的熱電偶磚要使用整塊的專用磚,圖五為爐頂測溫的通孔專用磚。其材質必須要與爐頂磚材一致。具體如圖4:

圖4 玻璃窯爐爐頂熱電偶的專用磚
有不少玻璃工廠采用在爐頂隨意留一孔或者現場鉆一孔,結果隨著窯爐數年燃燒后造成了火焰的竄出,使得該熱電偶四周爐頂磚侵蝕松動或竄火,嚴重影響到熱電偶甚至玻璃熔窯爐頂的壽命,其代價是很大的。望引起同行們的注意。
⑥窯頂的熱電偶必須要使用三角架或者法蘭盤支撐,它們必須要堅固穩定可靠有效。不能有傾斜和高低不平不穩等現象,見圖2。
2、熔窯底部測溫熱電偶注意事項及解決辦法
熔窯底部測溫熱電偶,特別在電助熔的池窯底部測溫熱電偶在安裝時(見圖5)應注意以下事項:

圖5 玻璃熔窯底部測溫熱電偶安裝
②要注意熱電偶干擾問題,一般在安裝時保證熱電偶與鋼結構的絕緣!
③該部位測溫熱電偶的補償導線不能與其電力線排在一起,以免強電干擾。
③在池窯底安裝熱電偶,需注意不能用螺絲固定死,應是可移動的,以免熔窯升溫后,磚結構膨脹,將熱電偶剛玉管損壞。
3、玻璃熔窯流液洞測溫熱電偶安裝
在測流液洞的溫度時,為了安全一般測其側部溫度,而且均是盲孔測溫,其盲孔測溫的修正值如上所述,該測點的溫度值較為重要,能指導安全生產的過程,見圖6

圖6 流液洞測溫熱電偶安裝
4、玻璃熔窯蓄熱室溫度測量
在測蓄熱室上部、中部、下部溫度時,熱電偶智能水平插入,此時要注意,因為沒有一支熱電偶經數小時高溫后,還能支撐其本身重量而不使其保護管彎曲和斷裂的,所以在插入時,要注意將熱電偶擱在格子磚上,因此該熱電偶必須有足夠的長度。
5、玻璃熔窯供料道測溫熱電偶安裝
現代制瓶機越來越快,它向著高機速、多料滴、輕量化的方向發展。因此料道溫度必須有精確的控制及良好的均化。有資料介紹:當料道溫度變化±1℃,料溫變化高達3%。因此測量和控制料道溫度十分重要。在料道上一般采用三點式熱電偶,在料道的中部、左、右兩側均有三點式熱電偶,共9點,以正確、全面地反映料道內的溫度情況(見圖7)。料道測溫熱電偶是采用鉑材料的外護管或波材料的涂層,以延長其使用壽命,同時可減少其對玻璃的污染。

圖7 玻璃窯爐供料道測溫熱電偶安裝
6、熱電偶斷偶以及斷偶后的應對措施
熱電偶是易耗品,它的老化主要是由于銠從一根電線遷移到另一根,這取決于溫度及其氣氛,因此老化的影響是不能定量的。它的損壞有其突然性與隨機性。窯頂控制點的熱電偶,一旦斷線、斷偶,其輸入為0mV,這時自動控制儀表自動輸出為最大值,這將會導致某些事故的發生。此時必須要有限幅裝置,將燃油的流量(天然氣的流量)或者電加熱功率等要加以限制并發出報警信號,以免發生超溫損壞窯爐等現象。
現在大型窯爐對窯爐溫度自動控制與監視是十分重視的,當熱電偶損壞后,我們不但要有一系列的自動措施,而當人工干預時也要有該點的溫度顯示。圖8就是在爐頂同一點上鉆二個孔,一通孔一盲孔,分別插熱電偶以解決此問題:

圖 8 窯爐頂上同一點上通孔與盲孔的專用磚
其中一個通孔其熱電偶的信號是作為自動控制窯爐溫度的。另一盲孔作為溫度顯示的,一旦通孔內的熱電偶燒壞,窯爐操作人員立即將自動控制切換到手動,以此盲孔的溫度值作為顯示手動調節以維持生產。
7、熱電偶定期調換
窯頂的作為控制點的熱電偶一般半年左右要定期調換下來,以免正常工作中燒壞燒斷,影響玻璃熔窯的正常工作。調換新熱電偶時,要完全杜絕熱電偶瞬間插入穿孔內,以防熱電偶外管冷熱聚變使其爆裂,根據經驗該鉑銠熱電偶插入的速度要保持在每小時30-40毫米。每次定期調換好后,必須要做好記錄:調換的日期、熱電偶型號、熱電偶長度、安裝部位、調換者的姓名以及下次調換的日期等參數。為下次調換者一目了然,以免錯過。這在當代電腦普及時代僅是舉手之勞,但其效果不可小視。
8、熱電偶使用中的注意點
玻璃熔窯是在高溫連續生產的工況下工作的,要如何保持熱電偶長期正常工作,保證玻璃熔窯的正常運行,有幾點體會與同行討論:
①熱電偶在接線時,要采用正確的補償導線,如果不采用補償導線或者錯用補償導線,那將會產生較大的測溫誤差(建議閱讀《正確使用熱電偶補償導線案例分析》技術文章)。
②要注意沒有一個窯爐的燃燒其溫度與工況是完全一樣的。一般的支架是不能精確定位的,水平方向的變動與垂直方向的變動,其溫度必然會變化。因此窯爐操作人員必須要根據本窯爐出料情況與玻璃液的質量,定出各自玻璃熔窯控制溫度值,甚至在每次調換該點熱電偶后,也要修正好該點的窯爐溫度數值,以保證玻璃液的質量。
③我國一些地區有些玻璃工廠目前還較普遍地使用輻射高溫計來測量玻璃熔窯的火焰溫度,雖然它測溫反應速度快壽命長。但是它測出的溫度不穩定,溫度誤差也較大。對習慣于使用輻射高溫計的工廠,筆者建議可先安裝一爐頂盲孔熱電偶,將盲孔熱電偶的測量溫度數值與輻射高溫計測量的數值參考對比來控制玻璃窯爐。以后逐步過渡到以熱電偶數據為主控制玻璃熔窯。
④由于熱電偶長期在高溫下工作,熱電偶偶絲會老化溫度漂移以及導線接線端子的松動造成電阻值的變化等原因,其測量數值有時會有一定的誤差。因此玻璃熔窯操作工除了在控制室內觀看儀表外,還須定時要到玻璃熔窯現場觀看窯爐的燃燒情況并用手提儀器測量窯爐內的溫度。有一位窯爐專家說得好:任何儀器儀表都比不上操作工人的眼睛,它是最真實的。這話說得中肯。
玻璃熔窯爐頂熱電偶是玻璃窯爐的重要測溫元件,其測溫的穩定性和準確性對提高玻璃液的質量是非常重要的。不論是儀表控制爐溫還是計算機控制。準確可靠地測量出爐內溫度這是第一位的。據法國一專業熱電偶生產公司介紹,他們專門為玻璃熔窯爐頂設計出一款長壽命高精度的玻璃熔窯爐頂熱電偶,其精度一年內在1580℃高溫下它的溫度漂移<3℃(No drift)。由此可見國內國外專業人士對玻璃熔窯爐頂熱電偶的重視,您可到 http://www.gzmengda.com/product/118.html 詳細了解這種熱電偶。
作者:趙民生,我國玻璃委員會技術專家,在玻璃窯爐測溫方面有豐富的經驗
