標準孔板是用不銹鋼或其他金屬材料制造的薄板,具有圓形開孔并與管道同心,其直角入口邊緣非常銳利,且相對于開孔軸線是旋轉對稱的,順流的出口呈擴散的錐形,如圖1所示。對標準孔板的特征尺寸要求為:節流孔徑d不小于12.5mm,直徑比 d/D應在0.2-0.75之間,D為管道直徑,直孔厚度h應在0.005D-0.02D之間,孔板的總厚度H應在h-0.05D之間,圓錐面的斜角α應在30°-45°之間。

圖1 標準孔板
標準孔板結構簡單,加工方便,價格低廉。單對流體造成的壓力損失較大,測量精度較低,而且一般只使用于潔凈流體介質的測量。在測量大管徑高溫高壓介質時,孔板容易變形。
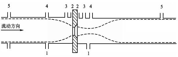
節流裝置的取壓方式
差壓式流量計是通過測量節流元件前后靜壓力差△P來實現,流量測量的值與取壓孔位置和取壓方式緊密相關。根據節流裝置取壓口位置,取壓方式分為理論取壓、角接取壓、法蘭取壓、徑距取壓與損失取壓五種,如圖2所示。國家規定標準的取壓方式有角接取壓、法蘭取壓和D-D/2取壓。

說明:圖中①理論取壓;②角接取壓;③法蘭取壓;④徑距取壓;損失取壓
圖2 節流裝置的取壓方式
角接取壓的兩個取壓口分別位于孔板的上下端面與管壁的夾角處,取壓口可以是環隙取壓口和單獨鉆孔取壓口。環隙取壓利用左右對稱的4個環室把孔板夾在中間,通常要求環隙在整個圓周上穿通管道,或者每個夾持環應至少有4個開孔與管道內部連通,每個開孔的中心線彼此互成等角度,再利用導壓管把孔板上下游的壓力分別引出。當采用單獨鉆孔取壓時,取壓口的軸線應盡可能以90°與管道軸線相交,環隙寬度和單獨鉆孔取壓口的直徑α通常在4mm-10mm之間。顯然,環隙取壓由于環室的均壓作用,便于測出孔板兩端的平穩差壓,能得到較好的測量精度,但是夾持環的加工制造和安裝要求嚴格。當管徑D>500mm時,一般采用單獨鉆孔取壓。
角接取壓法比較簡單,環室取壓容易實現,測量精度較高。
法蘭取壓裝置的上下游側取壓孔的軸線至孔板上、下游側端面之間的距離均為25.4mm±0.8mm(1inch)。取壓孔開在孔板上下游側的法蘭上。法蘭取壓法結構簡單,容易裝配,計算也方便,但精度較角接取壓法低些,僅適用于標準孔板。
差壓式流量計由哪些儀表構成
一套完整的差壓式流量計由節流裝置、差壓變送器、三閥組和流量積算儀構成。節流裝置、差壓變送器和三閥組組成差壓式流量計,差壓式流量計流量信號送入流量積算儀進行瞬時流量顯示和流量累積。

孔板 差壓變送器 流量積算儀
