壓力式溫度計屬于膨脹式溫度計的一種,它可用于測量并可直接顯示工業生產過程的介質自-100℃至600℃范圍的溫度。昌暉儀表通過三張圖介紹壓力式溫度計基本結構。
壓力式溫度計基本結構
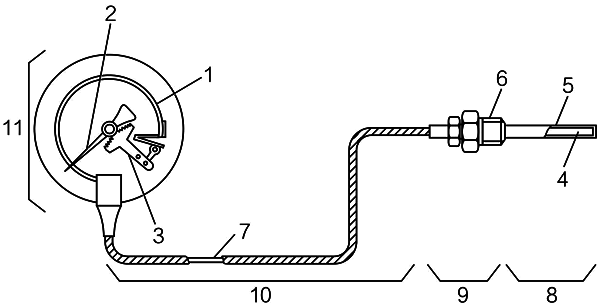
如圖1所示,壓力式溫度計由充有感溫介質的溫包,傳壓元件(毛細管)及壓力敏感元件(彈簧管)構成的金屬組件(即充灌式感溫系統)組成。溫包內充填的感溫介質為氣體、液體及蒸發液體等。測溫時將溫包置于被測介質中,溫包內的工作介質因溫度升高體積膨脹而導致壓力增大。該壓力變化經毛細管傳給彈簧管并使其產生一定形變,然后借助齒輪或杠桿等傳動機構帶動指針轉動,指出相應的溫度。

圖1 壓力式溫度計基本結構
說明:1為彈簧管;2為指針;3為變換機構;4為工作介質;5為溫包;6為連接螺釘;7為毛細管;8為感溫部分;9為連接部分;10 為傳導部分;11為顯示部分
溫包是直接與被測介質相接觸感受溫度變化的元件,要求它具有一定強度、 較低的膨脹系數,較高的熱導率及一定的抗腐蝕性能。毛細管主要用以傳遞壓力變化。如果毛細管細而長,則傳遞壓力的滯后現象嚴重,致使溫度計的響應速度變慢。但是,在長度相同的條件下,毛細管越細,儀表的準確度越高。
指示帶電接點壓力式溫度計
圖2a所示為指示帶電接點部分結構。其電接點裝置的動作原理如圖2b所示。

圖2 指示帶電接點壓力式溫度計基本結構
指示帶電接點壓力式溫度計的電接點裝置的上、下限接點(帶接點的指針1、4)可根據需要,通過專用工具調整到任意給定的溫度點上,動接點3由壓力式溫度計的指針2帶動。當被測量介質的溫度到達(或超過)最高(或最低)給定的溫度值時,動接點便和上限接點(或下限接點)相接觸,此時應發出信號或閉合(斷開)控制回路,起到兩位式的調節作用。圖2中5為接線端子。

圖3 電接點壓力式溫度計的表盤外形
表盤外形如圖3所示。電接點動作誤差即接點動作的實際溫度與動接點指針所指的示值之間的差值不應超過基本誤差絕對值的1.5倍。
