自動化儀表工程項目中儀表和其他專業的分工界限是否明確關系到各施工單位的工作量和施工成本,清晰的儀表和其他專業的分工界限更有利于各工種之間的工作協調和統籌。昌暉儀表在本文分享流量計、壓力儀表、溫度儀表、蒸汽伴熱及夾套、氣源、液面計、調節閥、儀表配電、儀表盤和電纜主徑與其他專業分工界限。
1、安裝流量計時儀表和其他專業的分工界限
自動化儀表工程項目中流量計安裝涉及儀表專業和工藝專業,下面以圖文方式對安裝孔板、文丘里管、面積式流量計、容積式流量計、內藏孔板差壓變送器時儀表專業和工藝專業各自施工范圍做分工界限。
①孔板(法蘭取壓)

◆儀表專業負責:A孔板、B孔板法蘭、20a法蘭(二次側)、22a和22b螺栓及螺母、23a墊片、23b孔板用環形墊片。
◆工藝管道專業負責:從孔板法蘭到第一法蘭20為止、25閥門、20法蘭、23墊片(孔板用環形墊片除外)。注:使用螺紋型或法蘭型閥門的場合到第一閥為止。
◆施工范圍:第一法蘭的二次側以后由儀表專業施工,其他由工藝管道專業施工
②孔板(管道取壓)

◆儀表專業負責:A孔板、20a法蘭(二次側)、22a螺栓及螺母、23a墊片、23b孔板用環形墊片。
◆工藝管道專業負責:從主管道到第一法蘭20為止、25閥門、20法蘭、10焊接型管箍、22螺栓及螺母、23墊片(孔板用環形墊片除外)、B孔板法蘭。注:使用螺紋型或法蘭型閥門的場合到第一閥為止。
◆施工范圍:第一法蘭的二次側以后由儀表專業施工,其他由工藝管道專業施工。
③文丘里管

◆儀表專業負責:A文丘里管、20a法蘭(二次側)、22a螺栓及螺母、23a墊片。
◆工藝管道專業負責:從文丘里管到第一法蘭20為止、25閥門、20法蘭、22螺栓及螺母、23墊片。注:使用螺紋型或法蘭型閥門的場合到第一閥為止。
◆施工范圍:第一法蘭的二次側以后由儀表專業施工。
④面積式流量計

◆儀表專業負責:A儀表本體。
◆工藝管道專業負責:20法蘭、22螺栓及螺母、23墊片、25閥門。
◆施工范圍:由工藝管道專業施工。
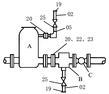
⑤容積式流量計(帶溫度補償器)

◆儀表專業負責:A氣體分離器、B過濾器、C流量計。
◆工藝管道專業負責:20法蘭、22螺栓及螺母、23墊片、25閥門、19管帽、02短管、05彎頭。
◆施工范圍:由工藝管道專業施工。
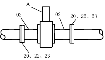
⑥內藏孔板差壓變送器

◆儀表專業負責:A儀表。
◆工藝管道專業負責:20法蘭、22螺栓及螺母、23墊片、02短管。
◆施工范圍:由工藝管道專業施工。
2、安裝壓力儀表時分工界限
自動化儀表工程項目中壓力儀表安裝涉及儀表專業和工藝專業,下面以圖文方式對安裝壓力表、壓力變送器時儀表專業和工藝專業各自施工范圍做分工界限。
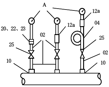
①壓力表

◆儀表專業負責:A儀表、12a壓力表接頭脈動阻尼器。
◆工藝管道專業負責:02短管、04冷凝圈、10焊接型管箍、20法蘭、22螺栓及螺母、23墊片、25閥門。
◆施工范圍:由工藝管道專業施工(包括儀表安裝),但在蒸汽伴熱的場所,器蒸汽伴熱由儀表專業施工。注:有脈動阻尼器、冷凝虹吸管、蒸汽伴熱,應計入規格書中。
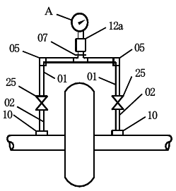
②壓力表

◆儀表專業負責:A儀表、12a壓力表接頭脈動阻尼器。
◆工藝管道專業負責:01管子、02短管、05彎頭、07三通、10焊接型管箍、25閥門。
◆施工范圍:由工藝管道專業施工(包括儀表安裝),但在蒸汽伴熱由儀表專業施工。
③壓力變送器(壓力表除外)

◆儀表專業負責:20a法蘭(二次側)、22a螺栓及螺母、23a墊片。
◆工藝管道專業負責:從主管或設備到第一法蘭20之間、20法蘭、22螺栓及螺母、23墊片、25閥門、10焊接型管箍。注:使用螺紋型或法蘭型閥門的場合到第一閥為止。
◆施工范圍:第一法蘭的二次側以后由儀表專業施工,其他由工藝管道專業施工。
