單晶硅壓力傳感器的核心測量晶片在超過一定比例的額定工作壓力后,易影響測量精度,甚至破裂失效。許多測量場合操作引起的失誤,或壓力管路內出現非正常性的壓力沖擊和波動,易產生遠超過壓力傳感器測試量程的壓力信號,使得測量硅膜片處于壓力過載狀態下。普通壓力傳感器無過載保護功能,此場合下易導致傳感器信號發生器損壞,使得傳感器終止工作。因此,如何有效地保護硅傳感器在現場的可靠運行,已越來越引起傳感器生產商和用戶的重視。昌暉儀表提出的這種針對單晶硅壓力傳感器的過載保護設計方法,可解決上述問題。
1、單晶硅壓力傳感器的工作原理
如圖1所示,硅傳感器的敏感元件是將P型雜質擴散到N型硅片上,形成極薄的導電P型層,焊上引線即成“硅應變片”,其電氣性能是做成一個全動態的壓阻效應惠斯登電橋。該壓阻效應惠斯登電橋和彈性元件(即其N型硅基底)結合在一起。介質壓力通過密封硅油傳到硅膜片的正腔側,與作用在負腔側的介質形成壓差,它們共同作用的結果使膜片的一側壓縮,另一側拉伸,壓差使電橋失衡,輸出一個與壓力變化對應的信號?;菟沟请姌虻妮敵鲂盘柦涬娐诽幚砗?,即產生與壓力變化成線性關系的4-20mADC標準信號輸出。

圖1 硅傳感器的結構圖
如圖2所示,在正負腔室的壓差作用下,引起測量硅膜片即彈性元件)變形彎曲, 當壓差P小于測量硅膜片的需用應力比例極限σp時,彎曲可以復位;當壓差P超過測量硅膜片的需用應力比例極限σp后,將達到材料的屈服階段,甚至達到強化階段,此時撤去壓差后測量硅膜片無法恢復到原位,發生不可逆轉的測量偏差;當壓差P達到或超過測量硅膜片能承受的最高應力σb后,測量硅膜片破裂,直接導致傳感器損壞。因此,通過阻止或削弱外界的過載壓差P直接傳遞到測量硅膜片上,就能有效保護傳感器的測量精度和壽命。

圖2 膜片受壓示意圖
2、壓力過載保護設計
2.1 硅片自身的過載保護設計
如圖3所示,對測量硅膜片的形狀做了特殊設計,將原來的內凹平面蝕刻成環狀凹陷,中間保留一平臺,而全動態的壓阻效應惠斯登電橋蝕刻在環狀位置處。如圖4所示,經過這樣的設計更改,隨著壓差P的增加,測量硅膜片發生位移,當P增大到一定的值后,底部的平臺與基礎硅片接觸貼合,阻止測量硅膜片的進一步位移,從而起到了保護作用。

圖3 帶保護的結構圖

圖4 帶保護的膜片受壓示意圖
經過對測量硅膜片的特殊設計,使得硅傳感器的抗過載能力成倍提高,以滿量程40kPa的硅傳感器試驗為例,其抗過載壓力從200kPa提高到了1MPa。但是,這種以硅片自身的過載保護設計來實施的原理仍有一定的局限性。
首先,抗過載壓力有限。如圖3所示,改進后的測量硅膜片仍存在1個環狀凹陷的平面,此環狀平面上蝕刻著全動態的壓阻效應惠斯登電橋,當壓差P超過1MPa后,環狀平面將整體塌陷斷裂,同樣會引起壓力傳感器過載失效。
其次,影響了測量硅膜片的靈敏度。在測量硅膜片內增設1個抗壓平臺后,使得測量硅膜片在同樣的壓差下,發生彎曲變形量降低,從而影響到傳感器的輸出信號量,削弱了測量硅膜片的靈敏度。
另外,采取硅自身的過載保護設計的方法,還增加了測量硅膜片的制造工藝復雜度,提高了企業的生產成本。
2.2 傳感器外部結構的過載保護設計
利用傳感器外部結構的過載保護設計,能夠很好地彌補單晶硅壓力傳感器自身過載保護設計的不足,不僅容易實現,而且抗過載壓力能大幅提高。針對差壓傳感器和表壓傳感器及絕壓傳感器,傳感器外部結構過載保護有2種不同的設計方案。
2.2.1 差壓傳感器的外部過載保護設計
如圖5所示,瑞士ROCKSENSOR公司針對硅差壓傳感器,設計了1種具有單向壓力過載保護的差壓傳感器。

圖5 帶過載保護的差壓傳感器結構示意圖
技術方案是:在正腔室和負腔室的外側均設置1個可傳遞壓力的外界隔離膜片,正腔室和負腔室之間設置1個可隨壓差移動的中心隔離移動膜片,正腔室上部為差壓測量硅膜片,差壓測量硅膜片的正向測試端通過充灌正腔硅油與正側外界隔離膜片導通。差壓測量硅膜片的負向測試端設置了導油管部件,通過充灌硅油與負側外界隔離膜片導通。在測量現場差壓過程中,通過正、負外界隔離膜片和硅油向內部的差壓測量硅膜片傳遞壓力而測定差壓值的同時,中心隔離移動膜片會因差壓值的存在而向低壓一側移動。當有超過差壓測量硅膜片允許工作范圍的差壓出現時,中心隔離移動膜片向低壓一側移動的程度足以使高壓一側的外界隔離膜片和腔室內壁重合,從而將高壓側硅油全部趕入腔室內,無法向差壓信號發生器進一步傳遞更高的壓力值,最終在差壓信號發生器上避免了超高壓的發生,實現了保護差壓信號發生器的目的。
圖6所示的正向過載保護實例中,當正腔過載,壓差P1-P2≥3P(P為1倍量程)時,正側外界隔離膜片和正腔室內壁重合,同時中心隔離移動膜片向負腔室方向移動,負側外界隔離膜片向外鼓出,使正腔硅油全部趕入正腔室內,無法向差壓測量硅膜片正向測試端進一步傳遞更高的壓力值,達到了正向單向壓力過載保護的目的。反之亦然。

圖6 單晶硅壓力傳感器過載示意圖
瑞士ROCKSENSOR公司通過對差壓傳感器外部結構的設計,實現在測量壓差的同時,有效地區分正常工作差壓和超高差壓,中心隔離移動膜片采用高彈性金屬薄膜片。昌暉儀表生產的YR-ER100系列單晶硅壓力變送器采用瑞士ROCKSENSOR原裝單向壓力過載保護差壓傳感器及信號處理單元,保持了單晶硅變送器的高精度、高穩定性和高過載保護性能。

2.2.2表壓和絕壓傳感器的外部過載保護設計
表壓傳感器以大氣壓作為參考壓力,其測量硅膜片的負腔直接通大氣;絕壓傳感器以絕對真空作為參考壓力,其測量硅膜片的負腔為真空封裝狀態。表壓和絕壓傳感器的外部過載保護設計和差壓傳感器有所不同,如圖7所示。

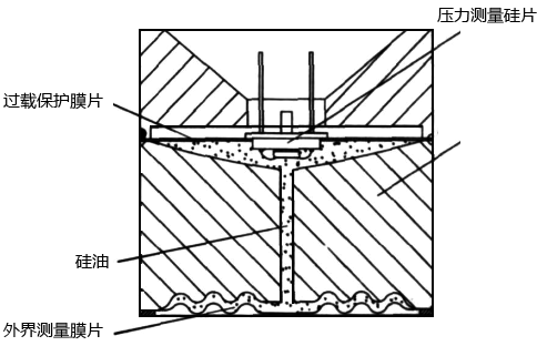
圖7 帶過載保護的表壓和絕壓傳感器結構示意圖
技術方案是:在腔室的一側設置可傳遞壓力的外界測量膜片(測量端),在腔室的另一側設置可隨壓差移動的過載保護膜片,在該過載保護膜片上布置壓力測量硅膜片,壓力測量硅膜片的測試端沉浸在硅油中,外界壓力通過硅油傳遞到壓力測量硅膜片上。在測量壓力過程中,過載保護膜片因壓差值的存在而向傳感器外側移動。當壓差超過壓力測量硅膜片允許工作壓力范圍后,過載保護膜片向傳感器外側移動使測量端的外界測量膜片和腔室內壁重合,從而保護了壓力測量硅膜片。
圖8所示的過載保護的實例中,當壓力過載,壓力P≥3Pm (Pm為1倍量程)時,外界測量膜片和腔室內壁重合,同時過載保護膜片向外側方向移動,使腔室測量端內的硅油全部趕入另一側過載保護移動膜片處,無法向壓力測量硅膜片的測試端進一步傳遞更高的壓力值,達到了高壓力過載保護的目的。

圖8 表壓和絕壓傳感器的過載示意圖
通過對表壓和絕壓傳感器外部結構的設計,最終實現在測量壓力的同時,有效地區分了正常工作壓力和超高壓力,過載保護移動膜片采用高彈性金屬薄膜片。昌暉儀表YR-ER100系列表壓和絕壓傳感器的外部過載保護設計采用的就是這種結構。
硅芯片壓力傳感器的測量精度和穩定性提高的同時,用戶越來越關注硅芯片壓力傳感器的長期使用可靠性,要求單晶硅壓力傳感器的抗高壓力過載能力不斷提高。針對這種要求,昌暉儀表提出了針對硅芯片壓力傳感器的2種抗過載設計方法。該設計保證了單晶硅壓力傳感器現場的應用安全,達到抗高壓力過載的目的,并提高了單晶硅壓力傳感器的使用壽命和系統的安全可靠性。
相關閱讀
單晶硅壓力變送器差壓變送器如何實現高穩定性
YR-ER101單晶硅差壓變送器應用中的故障判斷及處理方法
