1、水垢
這是指地下水或自來水中包含的金屬離子結晶并粘附在管路內壁后所產生的物體。它們由鈣、錳以及鈉等元素組成。如果積有太多層的水垢,則管路內的流道會變窄并限制流量。水垢也有可能粘附到流量計內部,對流量計的正常工作產生不利影響。此外對于具有機械部件的流量計,可能會有從積垢上剝落的碎片導致堵塞的情況發生。
使用浮子流量計與槳輪流量計時,可能會發生顯示裝置無法讀數或者運動機構卡住的情況。電磁型流量計幾乎不會有問題,但如果流道內壁附有厚厚一層水垢,則流量計可能會無法感測所產生的電壓,此時將需要進行維護。
2、淤積物
這是描述流體中存在的懸浮物與沉淀物的一般術語。在生產線上,這通常包括來自磨床的碎屑與磨粒。淤積物隨流體一起持續循環,導致流量計堵塞或是造成噪聲干擾。對于在管路中有機械部件的流量計,可能會發生軸向磨損與磨蝕,從而降低流量。雖然可以使用濾網或磁力分離器對淤積物進行控制,但徹底去除很難,因此仍需要維護。

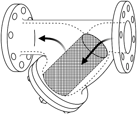
濾網
用于濾除流體中較大顆粒雜質(淤積物)的過濾器。如下圖所示,流體通過金屬網進行過濾。該過濾器可以拆下并進行清潔。
使用電磁流量計時,流動管道具有自由流動結構,因此不會發生積聚與堵塞。淤積物與“濕”電極碰撞時可能會產生干擾。不過,這些效應可利用具有“非濕”電極的電磁流量傳感器加以限制。此外,能夠調整響應時間與采樣頻率的流量傳感器更不易受干擾。
3、鐵銹
與水垢不同,這是管道內發生氧化時的問題。在流體中添加阻蝕劑可防止生銹,但未使用的管道接觸到空氣時仍會生銹。水再次流經管道時,鐵銹便會剝落成碎片,導致流量計內部發生堵塞,或是粘附到浮子流量計的觀察窗上。
鐵銹會引起與針對“淤積物”列出的事項相同的基本問題。
4、粘質物
這包括水中的生命物質,如藻類與微生物。它類似于泥巴,有粘性。與水垢一樣,它也會在槳輪流量計中產生堵塞與阻礙,并且會使浮子流量計的可見部分模糊不清。

使用電磁流量計時,流動管道具有自由流動結構,因此不會發生積聚與堵塞。此外,由于粘質物物質本身具有導電性,因此仍然能夠進行檢測。
5、泥漿
泥漿是包含一定量同質固體顆粒的液體總稱,包括包含磨料的液體等。個體顆??赡軙斐闪髁坑媰炔磕p,或是會凝結成塊導致堵塞。
管道阻力會造成流量計的軸磨損與堵塞。使用電磁流量計時,流動管道具有自由流動結構,因此磨損與堵塞的程度很小。泥漿在科里奧利流量計(質量流量計)中也可檢測。
6、氣泡
液體從入口流入時,空氣也可能會混入其中,連同混入液體中的雜質形成了氣泡,并且會由于溫度變化而聚集。在渦街流量計中,氣泡會干擾卡門渦流的形成,而在超聲波流量計中,超聲波的傳播會受到抑制,從而導致故障或讀數錯誤。
由于科里奧利流量計測量的是質量流量,因此不受氣泡的影響。使用電磁流量計時,流量可能會不穩定。由于檢測時利用的液體中包含氣泡,因此要減去氣泡質量才能得到液體的實際質量。
7、非均勻流速分布
流體流過一段足夠長的直管之后,流速在圓形管道內的分布就會穩定。另一方面,彎曲管道或是管道直徑變化都會導致流速分布不穩定。不穩定的流速分布有如下兩種:偏流,流速分布的中心偏離管道中心;旋流,流體沿著平行于流動方向的軸線邊旋轉邊流動。在這種狀態下進行流量測量,可能會導致測量誤差變大。

測量誤差的程度根據流速分布的不穩定程度而定。在上游安裝直管段,使流速分布穩定后進行測量。(粗略地說,直管段的長度應該是流道內徑的5倍。)
8、脈動
脈動較大時,瞬時流量可能會在瞬間超出流量計的額定流量。此時,流量計顯示的流量小于實際流過管道的流量。容積式往復泵是一種容易有較大脈動的泵。
為減小脈動,可以考慮采用蓄能器等減振器。此外,脈動導致流量計的數值隨時間變化時,可通過延長流量計的響應時間來保證數值穩定。
9、管路振動
流體流過管道或發生閥門開閉時,管道本身會發生振動。此外,設備與裝置運行時產生的振動可能也會傳至管道。
科里奧利流量計與渦街流量計可能會由于振動而無法正確測量流量。而電磁流量計與超聲波型流量計基本不會有此問題。(對于超聲波型流量計來說,因為超聲波的頻率與管道振動差異很大,所以可以忽略其影響。)
流量計故障根源專業知識就分享到這里。這些會導致流量計故障的因素對常見的電磁流量計、渦街流量計、浮子流量計、質量流量計、轉子流量計、超聲波流量計、差壓式流量計和熱導式流量計都會影響,儀表工在流量測量中選擇和使用流量計時需要重點關注。
