最小實體要求是當被測要素或基準要素偏離最小實體狀態時,形位公差可獲得補償值的一種公差要求。被測要素可以與基準要素同時采用最小實體要求,此時,形位公差可得到來自兩方面的補償值。
最小實體要求既可用于被測要素,也可用于基準要素。當用于被測要素時,應在被測要素形位公差框格中的公差值后標注符號?;當用于基準要素時,應在形位公差框格內的基準字母代號后標注符號?。
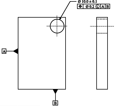
為了更好理解最小實體要求的含義,這里舉個例子,如下圖一個工裝板圖紙,基準A和基準B為基準面,孔φ10±0.1為安裝通孔,要求通孔在最小實體要求下,相對AB基準的位置度為φ0.2。這時由于通孔φ10±0.1相對邊界面非常近導致壁厚較薄,為了滿足強度要求,孔的位置和尺寸都必須在一定范圍內。假設圖紙中理論最小壁厚為2mm,考慮強度要求最薄處壁厚≥1.85mm。

先檢查圖紙設計是否合理,當孔尺寸最大、位置度最大的時候工裝板強度最差。此時,最小壁厚為1.85mm(2-(0.1+0.2)/2),滿足要求最小壁厚≥1.85mm的要求,因此圖紙設計合理。
假設有一個零件來料檢測后,孔尺寸為φ9.95,位置度為φ0.3。如果此時圖紙沒有最小實體要求,此時,零件是不合格的。但是這里由于對通孔位置度有最小實體要求,此時孔的尺寸偏離最小實體尺寸φ0.15(10.1-9.95),所以此時位置度應為φ0.35(0.15+0.2),檢測結果顯然符合要求。當然,此時最小壁厚為1.875mm>1.8mm,所以這個零件是滿足強度要求的,可以使用。
從這個例子可以看出,由于最小實體要求的應用,上述圖紙更符合設計需求,也減少了零件報廢,提升了產品合格率,降低了加工成本。
最后小結一下:最小實體要求用于被測要素時,被測要素的實際輪廓應遵守最小實體實效邊界(LMVB),被測要素的形位公差值是在該要素處于最小實體尺寸時給定的。當被測要素的實際尺寸偏離其最小實體尺寸時,允許最小實體尺寸下默認給出的中心要素的形位誤差值可以增加,即尺寸公差的偏離量可以補償給形位公差。偏離多少,就可增加多少,這時,被測要素的公差是一個動態值,隨著被測要素的尺寸變化而變化,其最大增加量等于被測要素的尺寸公差范圍,從而實現尺寸公差向形位公差轉化補償。最小實體要求用于基準中心要素的原理相同,若基準要素的實際輪廓偏離相應的邊界,則允許基準要素在一定范圍內浮動。
