
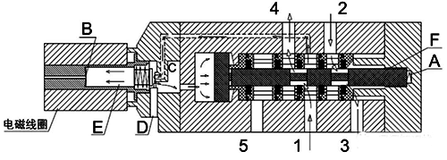
ASCO 531系列是一種先導式電磁閥,利用進氣口的氣源推動閥芯的滑動,通過電磁感應產生的力控制進入滑閥(即閥芯)的氣源,從而控制閥芯的滑動,并不是電磁感應產生的力直接控制滑閥。

進氣口1接氣源,出氣口2接閥門氣缸下室,出氣口4接閥門氣缸上室,電磁閥失電,閥門處于開啟狀態,電磁閥得電,閥門處于關閉狀態。
1、ASCO 531電磁閥失電狀態
在電磁閥失電狀況下,進氣口1與出氣口2相通,出氣口4與排氣孔5相通,活塞F在閥內彈簧A的彈力下保持在左邊的位置,進氣口1處的氣源通過下圖紅色箭頭孔(該進氣孔為獨立孔,只與進氣口1連接,不與出氣口4連接)連接腔室內的C進氣口;
鐵芯E在彈力作用下頂住進氣口C,將進氣口C堵??;

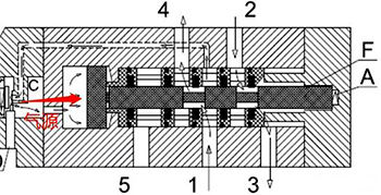
2、ASCO 531電磁閥得電狀態
當電磁閥得電,鐵芯E克服彈簧的彈力向左運動,進氣口C開始進氣,在氣源壓力下推動活塞F克服彈簧A的彈力向右運動,進氣口1與出氣口4相通,出氣口2與排氣孔3相通,4接閥門氣缸上室,閥門將關閉;

3、ASCO 531最小氣源壓力
活塞F克服彈簧A的彈力向右運動,當進氣口1的氣源壓力過小時,A的彈簧力大于氣源壓力產生的推力,活塞F將無法動作;所以電磁閥有一個最小動作壓力,ASCO 531系列為2Bar;


4、手動控制
當ASCO 531電磁閥電源故障沒電時,可以通過手動開關控制閥位切換,逆時針旋轉手動開關,鐵芯向左運動,閥芯向右運動,進氣口1與出氣口4相通;
