霍尼韋爾VDPC系列動態壓差平衡閥主要用于中央空調水系統,通常與靜態平衡閥配套使用,通過調試可以實現中央空調水系統的全面水力平衡。
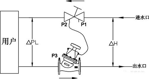
霍尼韋爾VDPC動態壓差平衡閥的安裝示意圖:

注意:霍尼韋爾VDPC系列動態壓差平衡閥通常安裝在回水管上,并注意設置正確的水流方向。
霍尼韋爾VDPC動態壓差平衡閥調試方法

1、連接導壓管①,如安裝示意圖所示,一端接在VDPC動態壓差平衡閥上,另一端通過三通測量頭②接在靜態平衡閥上,此時系統應處于低壓狀態。
2、先打開排氣孔的堵頭⑤,再打開三通測量頭②,管路通水,直至閥腔體內的空氣全部排出后,將排氣孔堵頭⑤鎖緊。
3、測量P2,P3兩端壓差,即ΔPL,如安裝示意圖所示。
4、設定壓差ΔPL,調節手輪③設定壓差值。
