
目前,生物、制藥和食品等行業對琉璃流量的測量通常采用浮子流量流量計、孔板流量計、V錐流量計、渦街流量計、電磁流量計和科氏力流量計等流量裝置。但基于衛生型行業的特殊要求,這些流量裝置在應用中存在一定的局限性,或不能滿足衛生級需求或應用成本過高。衛生型多參數質量流量變送器是利用流體通過節流件形成壓差的工作原理實現測量,其管道和殼體均采用316L不銹鋼材質,內外拋光處理,并且內部節流裝置采用無死角設計,從而極大地降低了微生物滋生的風險,達到GMP標準的衛生級要求,可廣泛應用于生物、制藥和食品等行業。
衛生型多參數質量流量變送器工作原理和結構
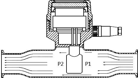
如圖所示,衛生型多參數質量流量變送器左側部分為衛生級不銹鋼殼體,右側部分為電子部件腔體。不銹鋼殼體為一個直通式管道,內部采用無縫隙和無死角設計。直通式管道內部表面經過衛生級拋光處理。在直通式管道內設置一個差壓傳感器膜盒,從而形成節流裝置,將差壓傳感器膜盒的正側面面向流體的流動方向,差壓傳感器膜盒的負側面平行于流體的流動方向。當流體流經這個直通式管道式時,由于管道內部差壓傳感器膜盒的節流效應,使得差壓傳感器膜盒的正負側形成壓力差。而差壓傳感器膜盒內部設置有瑞士ROCKSENSOR差壓測量芯片、靜壓測量芯片和溫 度測量芯片,使其能夠測量獲得差壓傳感器膜盒正負側的壓差信號、管道的靜壓信號和流體的溫度信號。

衛生型多參數質量流量變送器工作原理是當流體流經節流裝置時,節流裝置內部的差壓傳感器前后產生壓力差(P1-P2),該壓力差與流量存在著一定的函數關系,流量越大,壓力差就越大。經設置在電子部件腔體內的信號采集處理器經運算后將此壓力差信號轉換成瞬時流量信號后以4-20mA的標準信號輸出,并在顯示模塊上顯示瞬時流量值;同樣,差壓傳感器膜盒內部的靜壓測量芯片和溫度測量芯片,使其能夠測量獲得管道內流體的壓力和溫度信號,經設置在電子部件腔體內的信號采集處理器經運算后將管道壓力和流體溫度以4-20mA的標準信號分別輸出,并在顯示模塊上顯示管道壓力值和溫度值。最終實現“安裝一臺差壓式流量計同時獲得流量、壓力和溫度三種信號”的目的。
而電子部件腔體內的信號采集處理器將獲得的瞬時流量信號經流量積算儀計算后,實現流體流量的累計計量,并在顯示模塊上顯示。除了瞬時流量和累計流量的輸出外,其差壓傳感器內部還集成了壓力傳感器和溫度傳感器,因此還可以輸出管道壓力和液體溫度信號。
衛生型多參數質量流量變送器性能
1、瑞士RKS原創,中心傳感單元采用DP傳感器進行流量測量
2、全不銹鋼體,衛生無死角設計
3、可附帶溫度、壓力等多參量輸出
4、國際通行的多標準過程連接選項可供選擇
5、優異的電磁防護性能
6、人性化非接觸式的數顯操作面板,無須開蓋
衛生型多參數質量流量變送器技術參數
1、參考精度
◆流量:±0.3%/±0.5/±1%三種
◆壓力:±0.5%
◆溫度:±0.3%
2、穩定性:參考精度×Span/3年
3、輸出:4-20mA,可加載485通訊或HART數字通訊
4、輸出信號極限:I(min)=3.9mA,I(max)=20.5mA
5、電氣連接:M16×1.5防水航空插座,接線端子適用于0.5-2.5mm2
6、量程
◆選型代碼1:0-0.1~1t/h;
◆選型代碼2:0-0.2~1t/h;
◆選型代碼3:0-0.3~1t/h;
◆選型代碼5:0-0.5~1t/h;
◆選型代碼7:0-0.7~1t/h
◆選型代碼A:0-1~10t/h
◆選型代碼B:0-1.5~15t/h
◆選型代碼C:0-2~20t/h
◆選型代碼D:0-3~30t/h
◆選型代碼E:0-4~40t/h
衛生型多參數質量流量變送器的補償與標定
1、衛生型多參數質量流量變送器的溫度補償
常規流量計在使用過程中,都會受環境和介質溫度的影響,流量計輸出信號會產生明顯波動。鑒于這些原因,在衛生型多參數質量流量變送器檢測元件(傳感器膜盒)的生產過程中,昌暉儀表按照-20℃~85℃溫度段補償。在-20℃~85℃溫度段內平均分為5個溫度點,每個溫度點上再加不同的壓力差(△P)進行調校。通過這種寬溫度段多壓力點的補償方法,衛生型多參數質量流量變送器受溫度的影響明顯大幅度減小。下面是從實驗報告中摘錄的一組編 號YR0201#傳感器(△P量程0-6kPa)溫度補償前后的實驗數據,測試結果如下表所示。

衛生型多參數質量流量變送器的標定
衛生型多參數質量流量變送器采用標準表法分段標定。標準表選用0.3級高精度的電磁流量計,流置計和它串聯在同一密閉管道中。兩臺流量計都裝有流量計數器,以便所有數據能夠同步采集。

衛生型多參數質量流量變送器行業應用優點
在制藥或食品行業測量有衛生型需求的水等流體時,大多數企業采用浮子流量計、渦輪流量計、孔板流量計、渦街流量計和科氏力流量計等流量裝置。但是以上流量計由于本身結構或者使用成本等諸多的限制,都有許多 不足之處。昌暉儀表就以下幾個典型的流量計在制藥或食品行業對純水的測量為例,進行剖析。
◆浮子流量計
浮子流量計的結構與原理:浮子流量計的主要測量元件為一根小端向下,大端向上的垂直安裝的錐形玻璃管及其在內可以上下移動的浮子。流體自下而上流經錐形管時被浮子節流,而此時浮子的上下游之間產生壓力差, 浮子在此差壓作用下上升。當浮子所受差壓力、重力、浮力及粘性力的合力為零時,浮子處于平衡位置。因此,流體流量與浮子的上升高度,即與流量計的流通面積之間存在一定的比例關系。
浮子流量計測量純水的優缺點:結構簡單,成本較低;但對流體的測量精度較低,只能達到1.0級;測量元件浮子在移動時易與管壁摩擦, 間隙,易滋生細菌,不適合測量純水流量。
◆孔板流量計
孔板流量計的結構與原理:孔板流量計包括節流件、測量管和引壓管(高壓、低壓端)。當流體通過節流件附近造成局部收縮,流速增加,在其上、下游兩側產生靜壓力差。該壓力差和流體流速成正比,即可得出流速和流量。
孔板流量計測量純水的優缺點:結構簡單,成本較低,但對流體的測量精度低,測量元件(節流件)與測量管之間有死角隙,易滋生細菌,不適合測量純水流量。
◆渦街流量計
渦街流量計的結構與原理:渦街流量計主要測量單元是由測量導管和漩渦發生體以及檢測探頭組成。測量管中垂直插入一個柱狀漩渦發生體時,流體通過柱狀漩渦發生體兩側就交替地產生有規則的漩渦,檢測探頭來檢測漩渦的釋放頻率f,f與流體的流動速度v成正比,由此通過測量漩渦釋放頻率就可算出瞬時流量和體積流量。
渦街流量計測量純水的缺點:對流體的測量精度低,能達到1.0級;測量元件(旋渦發生體和檢測探頭)與測量管之間有安裝間隙,易滋生細菌,不適合測量純水流量。
◆渦輪流量計
渦輪流量計的結構與原理:渦輪流量計的測量元件主要由葉輪、軸承和管道組成;當流體通過導管推動葉輪旋轉,其旋轉的角速度與流體流速成正比,通過角速度就可以算出流體的流速和流量值。
渦輪流量計測量純水的缺點:對流體的測量精度高;但測量元件(葉輪)易磨損,易滋生細菌,不適合測量純水流量,造價成本高。
◆科氏力流量計
科氏力流量計的結構與原理:科氏力流量計結構有多種形式,一般由振動管與轉換器組成。其利用流體在振動管中流動而產生與流量成正比的科氏力的原理來直接測量流量。
◆科氏力流量計測量純水的優缺點:對流體的測量精度高;測量管道光潔,便于清洗,不易滋生細菌,較適合測量純水。但是使用成本太高,占用空間大。
由以上分析可以看出,這些流量計對衛生型需求的水的測量方面都存在著缺陷,而衛生型多參數質量流量變送器的出現,在一定程度上可以消除這些不足之處。其優點包括:結構簡單,安裝方便,占用空間小,測量精度高:測量管道內部拋光無死角設計,避免了細菌滋生,完全達到了GMP標準衛生級要求,用戶的使用成本適中。
衛生型多參數質量流量變送器可同時顯示和輸出流量、壓力和溫度三種參量,結構簡單,安裝方便, 不僅節省了用戶的應用成本,而且降低了現場對安裝空間的要求。由于具備高性能和低成本的優勢,衛生型多參數質量流量變送器可以在生物、 制藥、食品和衛生等行業廣泛應用。
