
螺紋式溫度計套管選型表
①②③④-⑤/⑥-⑦-⑧-⑨/⑩/?-?/?-?/?-?/?
①螺紋式溫度計套管THERMOWELL
[TH15]:過程連接為固定螺紋+儀表接口為內螺紋,默認
②頂部設計

[H]:六角形,默認
[R]:扳手平面
[M]:圓邊六角形
③套管結構形式
[A]:整體鉆孔錐形管,默認
[B]:整體鉆孔直形管
[C]:整體鉆孔縮徑式直形管
④內孔變徑
[N]:套管內孔為直形盲孔,默認
[R]:直形變徑內孔
⑤套管材料
[A]:304SS
[B]:316L,默認
[C]:不銹鋼1.4571
[D]:不銹鋼1.4404
[E]:C276合金
[F]:Incolo600
[G]:GH3039
[H]:MONEL 400
[X]:特殊材質,協議訂貨
⑥套管涂層要求
[N]:無涂層,默認
[M]:堆焊或噴涂耐磨層(耐磨)
[F]:套管及法蘭密封面整體燒結聚四氟乙烯(防腐,套管材質選316L即可)
[X]:特殊要求,協議訂貨
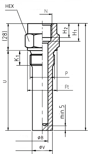
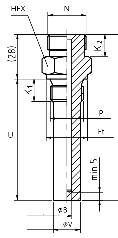
⑦過程連接(圖例中的P)

[A]:1/2NPT螺紋,默認
[B]:3/4NPT螺紋
[C]:1"NPT螺紋
[D]:M20×1.5螺紋
[E]:M27×2螺紋
[F]:M33×2螺紋
[G]:G1/2螺紋
[X]:其他
⑧儀表接口(圖例中的N)
[A]:1/2NPT內螺紋,默認
[C]:M20×1.5螺紋
[D]:M27×2螺紋
[E]:G1/2螺紋
[X]:其他
⑨頸部高度mm(圖例中的H)
[45]:45mm,最小高度,默認
[**]:其他連接可根據要求提供
⑩根部直徑mm(圖例中的φQ)
[**]:詳見參數表1
?端部直徑mm(圖例中的φv)
[**]:詳見參數表1
?內孔直徑mm(圖例中的φB)
-------直型孔
[6.6]:內孔6.6mm,用于6.35mm及以下直徑的探頭,默認
[8.5]:內孔8.5mm,用于8mm及以下直徑的探頭
[**]:其他連接可根據要求提供
-------直型變徑內孔
[**]/[**]/[**]/[**]:大內孔直徑/小內孔直徑/大內孔深度/小內孔深度
?頂部厚度mm(圖例中的Tt)
[6.4]:頂部厚度6.4mm,默認
?插入長度mm(圖例中的U)
[**]:插入長度。注意:插入長度始于過程連接螺紋底部
?棒料直徑mm(φBd)
[**]:僅TH15M型溫度計套管選用
?材質證書
[N]:無證書,默認
[M]:原材料材質證書
?測試報告要求
[N]:無證書,默認
[PMI]:PMI報告
[LPI]:LPI報告
[XR]:X-ray射線探傷報告
[IHT]:內部水壓測試報告
[EHT]:外部水壓測試報告
法蘭式溫度計套管選型http://www.gzmengda.com/product/132.html
焊接式溫度計套管選型http://www.gzmengda.com/product/4247.html
螺紋式溫度計度計套管型號舉例(附結構圖)


整體鉆孔固定螺紋直型管/型號:TH45FBN

整體鉆孔固定螺紋直型套管/型號:TH45GBN-⑧(儀表接口為外螺紋)


插入/焊入螺紋溫度計套管

法蘭式溫度計套管THERMOWELL選型表 http://www.gzmengda.com/product/132.html
