為了以最小化天線效應所有電纜應盡可能地短。信號電纜和動力電纜應最大程度地交叉布線,不能長距離緊貼平行布線。信號電纜與強磁場(電機、變壓器)之間須保持最少20cm的間距。除了保持間距外,也可以加裝屏蔽板實現屏蔽。DC24V電源電纜作為信號電纜處理。注意確保信號電纜和動力電纜有充足的彎曲半徑。
1、屏蔽電纜
為達到高頻區域內盡可能小的傳輸阻抗,電纜的屏蔽層應在一端進行大面積連接接地處理,如果有可能,應使用彈簧安裝原件保證屏蔽層的大面積環接處理,另外,屏蔽應不能中斷,如圖1所示。

圖1 屏蔽電纜不應中斷
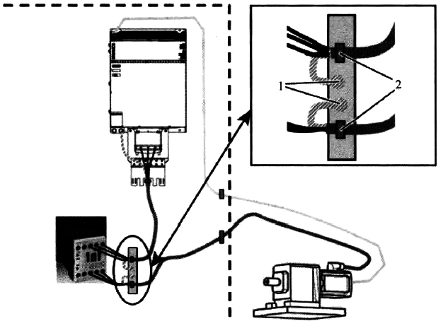
如果無法避免電纜中斷,應確保圖2中所顯示的屏蔽端子跨接。

圖2 銅制編織帶狀連接片屏蔽跨接示例
說明:1為保護線;2為屏蔽板
最好使用編織網狀屏蔽層,不能使用金屬薄膜屏蔽層,因為其電流承載能力比較小,屏蔽層也有可能被損壞。屏蔽連接不允許同時用來減輕導線張力??蓡为殞崿F張力減輕,以致屏蔽層不承受張力。在控制柜內允許采用其他的措施以達到屏蔽類似的效果。如根據貼著裝配板布線、穿金屬線槽或保持一定的距離。
2、動力電纜
在變頻器系統中的動力電纜,尤其是電動機電纜,屬于干擾信號的最主要來源。因此,所有從驅動器電源濾波器輸出端到電動機的電纜均不應中斷,且必須絞合且進行屏蔽。根據經驗,控制柜中1m之內的短連接線可以在無屏蔽的情況下進行絞合/束狀且無屏蔽布線,如濾波器至電抗器之間的連接,電抗器至直流母線端等。典型電纜連接長度見表1。
表1 典型電纜連接長度(示例)
訂貨號 6SL3320- 1TE32-1AA3 1TE32-6AA3 1TE33-1AA3 1TE33-8AA3
DC-Link連接電纜 M10 M10 M10 M10
電機連接電纜 M10 M10 M10 M10
PE連接電纜PE1 M10 M10 M10 M10
PE連接電纜PE2 M10 M10 M10 M10
DC-Link連接(DCP,DCN) mm2 2×185 2×185 2×240 2×240
Motor連接(U2,V2,W2) mm2 2×185 2×185 2×240 2×240
PE連接PE1 mm2 2×185 2×185 2×240 2×240
PE連接PE2 mm2 2×185 2×185 2×240 2×240
屏蔽的最大電機電纜長度 m 300 300 300 300
非屏蔽的最大電機電纜長度 m 450 450 450 450
注意:對應功率設備,請參看對應功率手冊。
3、電動機模塊上的電動機電纜屏蔽板
在內裝式設備上,電動機模塊上應使用與之配備的屏蔽板。如果由于空間原因致使此屏蔽板未能安裝,則將電動機模塊上的屏蔽層盡可能地靠近屏蔽層所連接的背板。將屏蔽層應連接至柜體內的總接地母線排上,如圖3所示。

圖3 通過EMC屏蔽層夾到EMC屏蔽母排的連接
4、電動機端子盒中電動機電纜屏蔽板
為確保大面積的屏蔽連接,在端子盒中應使用EMC標準的旋緊螺釘,如PG密封螺釘。
如果由于空間原因未能實現此屏蔽連接,應盡可能將屏蔽層連接至電動機外殼上,如圖4所示。

圖4 通過EMC屏蔽實現與電動機端子盒的屏蔽連接
5、編碼器電纜
編碼器和編碼器電纜屬于較敏感的設備部件。一旦信號被干擾將導致設備故障。因此,應采用雙屏蔽的編碼器電纜,其中外部屏蔽層應雙端接地,內部屏蔽層可單端連接在驅動器上。
①帶插接的編碼器電纜
屏蔽層通常通過插頭相連接,如圖5所示。

圖5 編碼器接頭內部的屏蔽層
②DRIVE-CLiQ編程器電纜
DRIVE-CLiQ編程器電纜的屏蔽層是連接在插頭上的。
6、DRIVE-CLiQ編程器電纜
由于DRIVE-CLiQ編程器電纜的插頭類型(集成了24V電源供電)的不同,普通的商用以太網線纜是不能被用于DRIVE-CLiQ線纜的,且長度最長為100m。
7、現場總線電纜
現場總線必須有穩定并不出錯的特點。因此,使用現場總線連接設備過程中,必須遵守以下要求:
◆與動力電纜之間保留足夠的間距;
◆總線組件上應進行屏蔽層的連接;
◆控制柜入口處應進行屏蔽層的連接;
◆等電位連接。
PROFIBUS電纜或PROFINET電纜和動力電纜之間的最小間距為20cm。
通過插頭接口可實現PROFIBUS組件或PROFINET組件間的屏蔽連接。如果組件并未安裝到金屬的裝配板上,必須另外布入一條4mm2的等電勢線并至連接保護地。
必須在控制柜入口處進行屏蔽連接,以滿足1類環境中的吸收限值。在2類環境中,屏蔽連接也是推薦方案。
如果PR0FIBUS或PR0FINET節點位于不同的建筑物或建筑物不同部分,則必須平行于PROFIBUS電纜或PR0FINET電纜連接一根等電位連接線。該等電勢連接必須滿足IEC 60364-5-54標準中對最小橫截面的要求:
PN電纜的屏蔽層處理如圖6所示。該連接線必須滿足IEC 60364-5-54中對最小橫截面積的要求:
◆銅制最小橫截面積為6mm2;
◆鋁制最小橫截面積為16mm2;
◆鋼制最小橫截面積為50mm2。

圖6 PN電纜的屏蔽層處理
對于現場總線電纜的屏蔽層的連接,應滿足大面積環接的基本要求,如圖6所示。
8、模擬量信號電纜
模擬量信號的電纜屏蔽層必須在一端進行連接。如圖7屏蔽層連接示例。另外,應在信號輸出端和輸入端間進行良好的等電位連接。

圖7 屏蔽層連接示例
