過負荷保護不斷電時報警實現方法

2023/9/14 3:04:38 人評論 次瀏覽 分類:電工基礎  文章地址:http://www.gzmengda.com/tech/5093.html

關于“過負荷保護不斷電、只報警”的規定,不同標準有不同要求,主要有以下幾個標準規定:
◆《建筑電氣及智能化通用規范》GB55024-2022,第4.3.1條,對于因過負荷引起斷電而造成更大損失的供電回路,過負荷保護應作用于信號報警,不應切斷電源。
《民用建筑電氣設計標準》GB51348-2019,第7.6.3條,對于突然斷電比過負荷造成損失更大的線路,不應設置過負荷保護。
《低壓配電設計規范》GB50054-2011,第6.3.6條,過負荷斷電將引起嚴重后果的線路,其過負荷保護不應切斷線路,可作用于信號。

過負荷保護不斷電時報警實現方法主要有以下幾種:

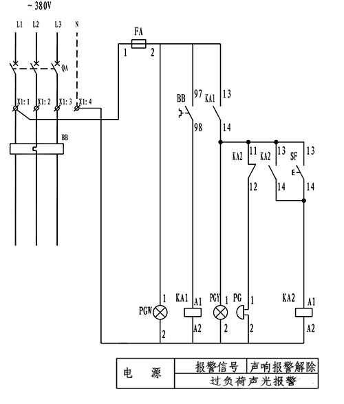
1、利用斷路器
這類產品主要為國產品牌,由于國產品牌對市場反應比較快,根據我國相關設計標準做出相應的產品研發。例如,常熟開關早在2007年就申請了“一種具有熱過載報警功能的塑殼斷路器”專利,并在CM3等多個產品上應用。當然,智能斷路器可以實現這個功能!

2、利用CPS

CPS主要用于保護電動機,因此對于需要只報警不斷電的電動機控制回路可以采用這類產品,以滿足標準的規定。這類產品包括中凱的KB0、江蘇遠泰、泰永長征、常熟開關等企業。

3、利用熱繼電器

對于電動機回路采用此方法沒有問題,但對于配電回路是沒有辦法的辦法,現在已有其他解決方案,因此配電回路不建議采用此方案。
只有瞬動保護的斷路器與熱繼電器組合,熱繼電器只報警。

利用熱繼電器實現過負荷保護不斷電時報警

4、利用多功能電力儀表

多功能電力儀表具有電流測量功能,當發生過負荷時,由其干接點提供報警信號。采用瞬動保護的斷路器與多功能儀表組合。

5、利用專用的保護裝置

這類專用裝置是從多功能儀表發展而來,工程應用不是很普遍,但可以作為一個方法。

只有瞬動保護的斷路器與專用的過負荷保護裝置組合,過負荷保護裝置只報警

只有瞬動保護的斷路器與專用的過負荷保護裝置組合,過負荷保護裝置只報警


綜上所述,過負荷保護不斷電時報警有多種實現方式,用戶可根據需要合理選擇使用適宜的方法。

作者:李炳華


共有訪客發表了評論 網友評論

  客戶姓名:
郵箱或QQ:
驗證碼: 看不清楚?