2088外形擴散硅經濟型壓力變送器采用進口傳感器,是昌暉儀表制造公司壓力變送器系列中的經濟型產品,產品長壽命、長期穩定性和易于維護的設計。結構安全、可靠、耐用。

2088外形擴散硅壓力變送器特點
1、絕壓和表壓測量范圍-0.1至40MPa
2、0.20%參考精度(包括線性、遲滯性和重復性)、高可靠性、高穩定性
3、零點和量程可調;激光調阻溫度補償
4、可選的液晶表頭(刻度可調)
5、小巧,質輕,易于安裝和運輸
6、穩定,可靠,易于維護,抗射頻干擾
7、無安裝位置影響
擴散硅壓力變送器主要技術指標
1、擴散硅壓力變送器應用場合: 適用于對316L膜片無腐蝕性液體、氣體壓力和液位測量
2、安裝螺紋:M20×1.5(標準出廠配置)和 1/2NPT陽螺紋可選
3、過程密封:產品的設計保證即使傳感器膜片損壞或故障時,變送器仍能安全地工作。電子線路側(室)有兩級密封與過程隔離,第三級密封實現了與現場接線端子和導線管入口相隔離。過程密封的設計及其位置使變送器殼體耐壓,并防止過程雜質由接線端子側通過導線管進入

4、雙室結構外殼:產品為雙室外殼設計。雙室外殼令電子線路與外部環境相隔離,可防止由于環境潮濕或導線管冷凝損壞變送器。一般不要求導線管密封。另外,即使在傳感器膜頭完全損壞時,雙室結構也可以保證接線端子及導線管與過程相隔離
5、壓力傳感器膜片:隔離膜片將壓力傳給硅壓阻式壓力傳感器,傳感器內充有硅油。對于表壓變送器,傳感器的參考壓力為大氣壓;對于絕壓變送器,傳感器的參考壓力是一個密封的真空參考源;過程壓力加在傳感器的傳感膜片上,使膜片產生一個微小變形,這會給予傳感器內的惠斯登電橋施加一個應力,使惠斯登電橋產生應變電阻變化,電阻變化被測量,并轉換為一個4-20mA直流電流變化被輸出
6、電子線路板模塊:電子線路采用ASIC(專用集成電路)和表面封裝技術。電子板接收傳感器膜頭的經溫度補償的電阻變化信號后,對信號進行修正和線性化,輸出一個直流電流信號

7、參考精度:±0.2%或0.5%校驗量程,包括線性,遲滯性和重復性影響
8、環境溫度影響:在-40~85℃范圍內總體影響:±(0.3%URL+0.3%校驗量程)/56℃
9、量程范圍:-0.1至40MPa
10、過壓極限:2倍FS(<3.5MPa);2.5倍FS(≥3.5MPa)
11、過程溫度極限:硅油傳感器:-40至120℃
12、電氣接口:M20×1.5

13、過程接液件:隔離膜片: 316L不銹鋼;過程接頭: 316不銹鋼
14、電子外殼:低銅合金鋁,符合NEMA4X
15、標牌:變送器為不銹鋼標牌

擴散硅壓力變送器安裝要求
2088外形擴散硅壓力變送器同壓力表的安裝一致,使用截止閥和引壓管,無須安裝支架。安裝時應盡量將擴散硅變送器安裝在溫度變化小、沖擊和震動小的場所才能獲得最佳性能。

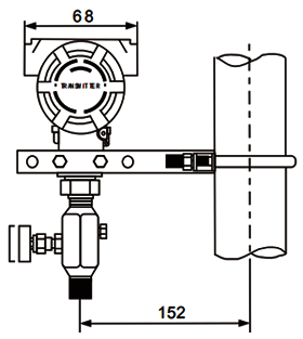
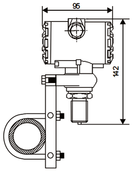
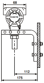
擴散硅壓力變送器豎直管道安裝

擴散硅壓力變送器水平管道安裝

擴散硅壓力變送器面板安裝


擴散硅壓力變送器安裝支架
擴散硅壓力變送器使用須知
1、擴散硅壓力變送器外形變送器使用在對硅和不銹鋼無蝕害的介質中。
2、請按擴散硅變送器接線方法正確接線。若電源反接,變送器將無信號輸出(內部采用了保護措施)。擴散硅變送器接通電源即可工作,但預熱30分鐘后的輸出信號較穩定可靠。
3、將屏蔽線與測控儀表屏蔽線(或大地)相連接,有利于提高擴散硅變送器抗干擾能力。
4、嚴禁將尖而硬的東西伸入壓力輸入孔,以免損壞變送器膜片。
擴散硅壓力變送器選型表
|
YR-801①②③④⑤⑥⑦精度0.2%或精度0.5% |
||
|
①代碼 |
變送器類型 |
|
|
A |
擴散硅壓力變送器 |
|
|
②代碼 |
壓力類型 |
|
|
G |
表壓 |
|
|
H |
絕壓 |
|
|
③代碼 |
測量范圍 |
|
|
1 |
0~100Pa~1kPa |
|
|
2 |
0~1kPa~10kPa |
|
|
3 |
0~10kPa~35kPa |
|
|
4 |
0~35kPa~100kPa |
|
|
5 |
0~100kPa~350kPa |
|
|
6 |
0~200kPa~700kPa |
|
|
7 |
0~500kPa~2.1MPa |
|
|
8 |
0~1MPa~2.1MPa |
|
|
10 |
0~3MPa~7MPa |
|
|
11 |
0~15MPa~35MPa |
|
|
12 |
0~25MPa~60MPa |
|
|
13 |
絕壓0~25kPa~3500kPa |
絕壓變送器專用選型代碼 |
|
④代碼 |
輸出信號及通訊 |
|
|
E |
二線制4-20mA |
|
|
S |
二線制4-20mA+HART |
|
|
⑤代碼 |
過程連接 |
|
|
1 |
M20×1.5外螺紋 |
|
|
2 |
1/2NPT外螺紋 |
|
|
3 |
其他規格,按照用戶需要生產 |
|
|
⑥代碼 |
結構性質 |
說明 |
|
N |
普通型 |
標準出廠配置 |
|
I |
防爆型 |
|
|
⑦代碼 |
顯示表頭 |
說明 |
|
無 |
不帶表頭 |
標準出廠配置 |
|
M1 |
0-100%指針刻度顯示 |
|
|
M4 |
0-100%液晶數字顯示 |
|
擴散硅壓力變送器型號舉例
YR-801AG8S1N 量程:0-1.6MPa
YR-801AG2S1N 量程:0-6kPa
YR-801AG7S1N 量程:0-0.6MPa
YR-801AG8E1N 量程:0-1.6MPa
YR-801AG2E1N 量程:0-5kPa
YR-801AG7E1N 量程:0-0.6MPa
擴散硅壓力變送器現場使用照片

昌暉2088外形擴散硅壓力變送器性能穩定可靠,價格本廠很實惠,期待您致電(0871-65127691)聯系和咨詢
