

單晶硅壓力變送器特點
1、中心傳感單元采用全球領先高精度硅技術,鉑金級精度±0.05%
2、單晶硅壓力變送器YR-ER102為專利雙過載保護膜片設計
3、單晶硅壓力變送器優異的靜壓性能,遠非同場合電容式產品所能媲比,靜壓誤差最優可控制在±0.05%/10MPa以內
4、單晶硅壓力變送器最高100:1的量程比調節
5、單晶硅壓力變送器電磁兼容性(EMC)符合GB/T 18268.1-2008
6、單晶硅壓力變送器電路采用微處理器和先進的數字隔離技術的模塊化設計,數字化補償技術對溫度和靜壓進行補償,使產品極高穩定性、可靠性和極低溫度漂移,壓力變送器零點、精和重復性度多年不變,長期運行最高10年免維護
7、三種報警電流輸出模式用戶可選擇
8、壓力變送器可自由編程組態,總線標準4-20mA/HART輸出
9、單晶硅壓力變送器具有自診斷能力
10、單晶硅壓力變送器在結構上,用戶很方便的通過HART通訊手操器和殼外的按鈕對變送器進行組態,設置和標定
單晶硅壓力變送器性能規格
1、調量程的參考精度(包括從零點開始的線性、回差和重復性):
YR-ER102-A精度:±0.05%
YR-ER102-B精度:±0.075%
YR-ER102-C精度:±0.1%
若TD>10(TD=最大量程/調節量程),則為:
YR-ER102-A:±(0.005×TD)%
YR-ER102-B:±(0.0075×TD)%
YR-ER102-C:±(0.01×TD)%
◆對于量程1B的單晶硅壓力變送器,若TD>6(TD=最大量程/調節量程),則為:
YR-ER102-B1B:±(0.0125×TD)%
YR-ER102-C1B:±(0.0166×TD)%
2、環境溫度影響
①-20~+65℃時環境溫度總影響量為:
YR-ER102-A:±(0.075×TD+0.025)%×Span;每10℃之間±0.04%×Span(TD=1時)
YR-ER102-B:±(0.15×TD+0.05)%×Span,每10℃之間±0.08% (TD=1時)
YR-ER102-C:±(0.15×TD+0.05)%×Span,每10℃之間±0.08% (TD=1時)
② -40℃~-25℃和65℃~85℃時總影響量為:
YR-ER102-A:±(0.1×TD+0.025)%×Span
YR-ER102-B:±(0.2×TD+0.05)%×Span
YR-ER102-C:±(0.2×TD+0.05)%×Span
③過范圍影響
YR-ER102-A過范圍影響:±0.05%×Span
YR-ER102-B過范圍影響:±0.075%×Span
YR-ER102-C過范圍影響:±0.075%×Span
④穩定性
YR-ER102單晶硅壓力變送器穩定性:±0.15%URL/10年
⑤電源影響
±0.001%/10V(12-36VDC),可忽略不計
3、量程和范圍
①YR-ER102-A表壓變送器量程和范圍

②YR-ER102-B/C表壓變送器量程和范圍

③量程限
在量程的上下限范圍內,可以任意調整。建議選擇量程比盡可能低的量程代碼,以優化性能特征
④零點設置
零點和量程可以調節到上面表中測量范圍內的任何值,只要:標定量程≥最小量程
⑤安裝位置影響
與膜片面平行方向的安裝位置變化不會造成零漂影響,若 安裝位置與膜片面超過90°的變化,量程C有<0.25kPa范圍內的零位漂移,其它量程有<0.15kPa范圍內的零位影響,均可以通過調節調零校正。無量程影響。
⑥輸出信號
2線制4-20mA+HART輸出,數字通訊,可選擇線性或平方根輸出,HART協議加載在4-20mA信號上。
輸出信號極限:Imin=3.9mA,Imax=20.5mA
⑦報警電流
低報模式(最小):3.6mA
高報模式(最大):21mA
不報模式(保持):保持故障前的有效電流值
報警電流標準設置:高報模式
⑦響應時間
放大器部件阻尼常數為0.1s;傳感器時間常數為0.1-1.6s,取決于量程及量程比。附加的可調時間常數為:0.1-60s
⑧預熱時間
<15s
⑨環境溫度
-40~+85℃;帶液晶顯示、氟橡膠密封圈時-40~+65℃
⑩儲存溫度/運輸溫度
-50~+85℃;帶液晶顯示時-40~+85℃
?壓力極限
從真空至最大量程
?過載極限
?防爆性能:
?電磁兼容性(EMC)
?單晶硅壓力變送器電磁兼容性(EMC)

4、安裝
①電源及負載條件
電源電壓為24V,R≤(Us-12V)/Imax kΩ,其中Imax=23mA
最大電源電壓:36VDC
最小電源電壓:9VDC(低電壓版),13.5VDC(背光LCD液晶 顯示、OLED顯示)
數字通訊負載范圍:230-600Ω
②電氣連接
M20×1.5或NPT1/2內螺紋,標配M20×1.5尼龍電纜密封扣,接線端子適用于0.5-2.5mm2導線
③過程連接
NPT1/2內螺紋,可轉成NPT 1/2、G1/2以及M20×1.5的外螺紋、KF16真空接口
5、物理規格
①材質
膜片:不銹鋼316L、哈氏合金C
過程連接:不銹鋼316
填充液:硅油、氟油
壓力變送器外殼:鋁合金材質、外表噴涂環氧樹脂;不銹鋼表殼可選
外殼密封圈:丁晴橡膠(NBR)
銘牌:不銹鋼304
②重量
單晶硅壓力變送器在鋁合金表殼,無液晶顯示、安裝支架和過程連接時重約3.3kg
③外殼防護等級
IP67
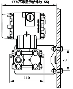
單晶硅壓力變送器外形尺寸
1、水平配管連接形式(正面)

2、水平配管連接形式(側面)

3、墻面連接形式

4、垂直配管連接形式

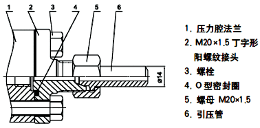
壓力變送器過程法蘭接頭
1、1/2NPT不銹鋼橢圓形法蘭(代碼1)

2、M20×1.5不銹鋼丁字型接頭(代碼2)

單晶硅壓力變送器電氣接線圖

單晶硅壓力變送器型號和規格代碼表
YR-ER102-①②③④⑤⑦⑧⑨?-?
①單晶硅壓力變送器精度
[A]:±0.05%高精度單晶硅壓力變送器
[B]:±0.75%精度
[C]:±0.1%精度
②單晶硅壓力變送器量程[注1][注2]
----------0.005%高精度YR-ER102-A系列選型代碼:
[1C]:0-2kPa~40kPa/(0-200~4000mm H2O)/(0-20~400mbar)
[1D]:0-2.5kPa~250kPa/(0-0.25~25m H2O)/(0-25~2500mbar)
[1F]:0-30kPa~3MPa/(0-3~300m H2O)/(0-0.3~30bar)
[1G]:0-0.1MPa~10MPa/(0-1~100bar)
[1H]:0-0.21MPa~21MPa/(0-2.1~210bar)
[1I]:0-0.4MPa~40MPa/(0-4~400bar)
----------0.075%精度/0.1%精度YR-ER102-B/C系列選型代碼:
[1B]:0-0.6kPa~6kPa/(0-60~600mm H2O)/(0-6~60mbar)
[1C]:0-2kPa~40kPa/(0-200~4000mm H2O)/(0-20~400mbar)
[1D]:0-2.5kPa~250kPa/(0-0.25~25m H2O)/(0-25~2500mbar)
[1F]:0-30kPa~3MPa/(0-3~300m H2O)/(0-0.3~30bar)
[1G]:0-0.1MPa~10MPa/(0-1~100bar)
[1H]:0-0.21MPa~21MPa/(0-2.1~210bar)
③膜片材質/填充液
[A]:不銹鋼316L/硅油
[B]:不銹鋼316L/氟油
[C]:哈氏合金C/硅油
[D]:哈氏合金C/氟油
[E]:不銹鋼316L鍍金/硅油
[F]:不銹鋼316L鍍金/氟油
[G]:不銹鋼316L涂FEP/硅油
[T]:鉭/硅油
④單晶硅壓力變送器過程連接/泄放閥
[N]:1/4英寸NPT及7/16英寸UNF螺紋孔/無泄放閥
[B];1/4英寸NPT及7/16英寸UNF螺紋孔/泄放閥裝于法蘭后部端面
[U]:1/4英寸NPT及7/16英寸UNF螺紋孔/泄放閥裝于法蘭側面上部
[D]:1/4英寸NPT及7/16英寸UNF螺紋孔/泄放閥裝于法蘭側面下部
⑤單晶硅壓力變送器接液密封材質
[N]:丁腈橡膠(NBR)
[F]:氟橡膠(FKM)
[P]:聚四氟乙烯(PTFE)
⑥特殊功能
[N]:無(標準配置)
[F]:平方根輸出
[O]:禁油處理(氧氣測量限氟油填充液,氟橡膠密封圈、<6MPa、<60℃)
[P]:防雷擊功能
[X]:定制產品
⑦單晶硅壓力變送器安裝支架
[N]:無安裝支架
[1]:不銹鋼
[2]:鍍鋅碳鋼(標準配置)
⑧過程連接附件
[N]:無
[1]:1/2英寸NPT內螺紋不銹鋼橢圓形法蘭
[2]:M20×1.5外螺紋不銹鋼丁字形接頭
⑨顯示器選項
[N]:無顯示表頭
[2]:YR-ER102帶LCD背光液晶顯示(-20℃)
[3]:YR-ER102帶OLED顯示(-40℃)
⑩防爆選項
[N]:基本型
[A]:本安型,NEPSI
[D]:隔爆型,NEPSI
[B]:本安型,ATEX
[E]:隔爆型,ATEX
?壓力變送器現場安裝位號標牌
[N]:無
[1]:位號位于銘牌內
[2]:懸掛式不銹鋼位號標牌
?單晶硅壓力變送器說明書
[C]:配中文說明書
[E]:配英文說明書
?殼體選項
[N]:鋁合金殼體,電氣接口M20×1.5
[T]:鋁合金殼體,電氣接口NPT1/2(無電纜引入裝置及盲堵)
[S]:不銹鋼316殼體,電氣接口M20×1.5
?附加可選擇(-)
[V]:低電壓版
[1]:第三方檢測報告(5點檢測)
[2]:第三方檢測報告(9點檢測)
[M]:RS485-Modbus RTU通訊協議
[P]:Profibus PA通訊協議
[注1]:不同精度壓力變送器應對應選表壓量程代碼。
[注2]:量程選“1C”、“1D”、“1F”時,默認過載為16MPa;如需過載40MPa時,需備注說明。
單晶硅壓力變送器選型舉例
例:YR-ER102-B1CANNP1N2N1CN
[YR-ER102]:表壓變送器
[B]:基本誤差±0.075%
[1F]:量程0-1.6MPa
[A]:接液部分為不銹鋼 316L膜片,填充液為硅油
[N]:過程連接接口:1/4英寸NPT及7/16英寸UNF螺紋孔,無泄放閥
[N]:接液密封圈為丁腈橡膠(NBR)
[P]:帶防雷擊功能
[1]:不銹鋼安裝支架
[N]:過程連接附件無
[2]:LCD背光液晶顯示
[N]:基本型單晶硅壓力變送器(非防爆變送器)
[1]:位號標于銘牌內
[C]:中文使用說明書
[N]:鋁合金殼體,電氣接口M20×1.5
看圖識單晶硅壓力變送器
本外形的單晶硅變送器是昌暉儀表獨有外觀,具有很好的辨識度,您在見到這種外形的產品,源自昌暉儀表,高性能單晶硅壓力變送器自然找生產廠家最便宜!分享這張圖,記住昌暉儀表電話(0871-65127691),昌暉儀表制造有限公司有禮相送哦!

